欢迎来到知嘟嘟! 联系电话:13336804447 卖家免费入驻,海量在线求购! 卖家免费入驻,海量在线求购!
知嘟嘟
我要发布
联系电话:13336804447
知嘟嘟经纪人
收藏
专利号: 2020231366373
申请人: 安徽睿知信信息科技有限公司
专利类型:实用新型
专利状态:已下证
专利领域: 破碎、磨粉或粉碎;谷物碾磨的预处理
更新日期:2024-02-26
缴费截止日期: 暂无
价格&联系人
年费信息
委托购买

摘要:

权利要求书:

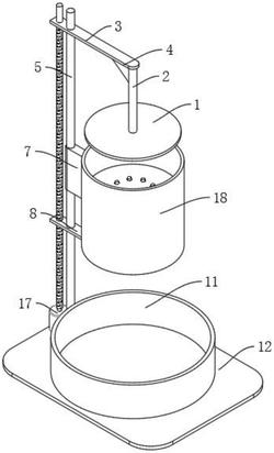
1.一种厨房残渣处理装置,包括底板(12),其特征在于,所述底板(12)上固定连接有电机(17),所述电机(17)的输出轴上固定连接有螺纹杆(6),所述底板(12)上固定连接有固定杆(5),所述固定杆(5)上固定连接有连接块(7),所述连接块(7)上固定连接有壳体(18),所述壳体(18)内壁上固定连接有挤压盘(9),所述挤压盘(9)上圆周等距离开设有多个漏孔(13),所述漏孔(13)的下端设置有导通机构,所述螺纹杆(6)上端螺纹贯穿连接有上连接板(3),所述固定杆(5)贯穿所述上连接板(3),所述上连接板(3)上固定连接有上连接杆(2),所述上连接杆(2)上固定连接有挤压板(1),所述挤压板(1)呈圆形,所述挤压板(1)的直径小于所述壳体(18)的内径,所述底板(12)上摆放有收集盆(11)。

2.根据权利要求1所述的一种厨房残渣处理装置,其特征在于,所述导通机构包括与所述螺纹杆(6)下端螺纹贯穿连接的下连接板(8),所述下连接板(8)上固定连接有下连接杆(10),所述下连接杆(10)上端固定连接有移动盘(16),所述移动盘(16)上圆周等距离固定连接有多个导通杆(14),所述导通杆(14)位于所述漏孔(13)的正下方,且所述漏孔(13)的内径大于所述导通杆(14)的直径。

3.根据权利要求2所述的一种厨房残渣处理装置,其特征在于,所述下连接板(8)上固定连接有挡块(15)。

4.根据权利要求1所述的一种厨房残渣处理装置,其特征在于,所述上连接杆(2)与所述上连接板(3)之间固定连接有加强筋(4)。

5.根据权利要求1所述的一种厨房残渣处理装置,其特征在于,所述壳体(18)内壁涂有不粘层。