欢迎来到知嘟嘟! 联系电话:13336804447 卖家免费入驻,海量在线求购! 卖家免费入驻,海量在线求购!
知嘟嘟
我要发布
联系电话:13336804447
知嘟嘟经纪人
收藏
专利号: 202023126564X
申请人: 扬州工业职业技术学院
专利类型:实用新型
专利状态:已下证
专利领域: 塑料的加工;一般处于塑性状态物质的加工
更新日期:2024-02-23
缴费截止日期: 暂无
价格&联系人
年费信息
委托购买

摘要:

权利要求书:

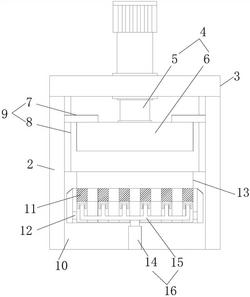
1.一种汽车顶棚成型模具,包括底座(10),其特征在于:所述底座(10)的外部安装有支撑杆(2),所述支撑杆(2)与底座(10)固定连接,所述支撑杆(2)的顶部设置有顶板(3),所述顶板(3)与支撑杆(2)固定连接,所述顶板(3)上安装有按压组件(4),所述按压组件(4)的一端位于底座(10)的顶部,所述底座(10)的内部开设有凹槽(13),所述凹槽(13)的内部设置有转杆(12),所述转杆(12)的两端分别与凹槽(13)两侧的内壁固定连接,所述转杆(12)上设置有若干个下模块(11),若干个所述下模块(11)底部的中部均在转杆(12)上转动连接,若干个所述下模块(11)下方的两侧均设置有连接组件(16),且若干个下模块(11)的两侧分别与两侧的连接组件(16)错位连接,所述下模块(11)与连接组件(16)转动连接,所述底座(10)的外壁上安装有控制器(1)。

2.根据权利要求1所述的一种汽车顶棚成型模具,其特征在于:所述连接组件(16)包括电动伸缩杆(14)和连接件(15),所述电动伸缩杆(14)的底端与底座(10)的底部固定连接,所述电动伸缩杆(14)的顶端与连接件(15)底端的中部固定连接,所述连接件(15)的顶部与下模块(11)的一侧转动连接。

3.根据权利要求1所述的一种汽车顶棚成型模具,其特征在于:所述按压组件(4)相对的两侧均设置有限位组件(9),两个所述限位组件(9)的一侧分别延伸至按压组件(4)上,且限位组件(9)的两端分别延伸至顶板(3)和底座(10)上。

4.根据权利要求3所述的一种汽车顶棚成型模具,其特征在于:所述限位组件(9)包括固定块(7)和限位杆(8),所述限位杆(8)的两端分别设置在顶板(3)和底座(10)上固定连接,所述固定块(7)在限位杆(8)上滑动连接。

5.根据权利要求4所述的一种汽车顶棚成型模具,其特征在于:所述按压组件(4)包括液压杆(5)和上模具(6),所述液压杆(5)设置在顶板(3)上固定连接,所述上模具(6)与液压杆(5)的底部固定连接,所述固定块(7)的一端延伸至上模具(6)的顶部固定连接。

6.根据权利要求1所述的一种汽车顶棚成型模具,其特征在于:所述支撑杆(2)共设置有四个,四个所述支撑杆(2)分别在底座(10)外部的四个拐角处固定连接。