欢迎来到知嘟嘟! 联系电话:13336804447 卖家免费入驻,海量在线求购! 卖家免费入驻,海量在线求购!
知嘟嘟
我要发布
联系电话:13336804447
知嘟嘟经纪人
收藏
专利号: 2020229521898
申请人: 饶达
专利类型:实用新型
专利状态:已下证
专利领域: 发电、变电或配电
更新日期:2023-12-11
缴费截止日期: 暂无
价格&联系人
年费信息
委托购买

摘要:

权利要求书:

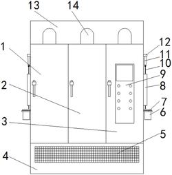
1.一种配电系统用高压变频器,包括变压器柜(1)、功率单元柜(2)、控制柜(3)和操作界面(9),其特征在于:所述变压器柜(1)依次从左到右排列,所述操作界面(9)位于控制柜(3)的外表面,所述变压器柜(1)、功率单元柜(2)和控制柜(3)的顶部固定安装有防尘板(13),所述防尘板(13)的外表面固定安装有出风管(14),所述出风管(14)的数量为三个,三个所述出风管(14)的输出端分别与变压器柜(1)、功率单元柜(2)和控制柜(3)的顶部相连接,三个所述出风管(14)的内部均固定连接有支撑装置(15),所述支撑装置(15)的内部活动套接有转轴(17),所述转轴(17)的内侧外表面固定套接有扇叶(16),所述变压器柜(1)和控制柜(3)的外侧面均固定安装有连接板(12)、剐蹭柜(8)和支撑架(7),所述连接板(12)、剐蹭柜(8)和支撑架(7)从上到下依次排列,所述连接板(12)底部的左右两端固定连接有电动伸缩杆(11),所述电动伸缩杆(11)的输出端固定连接有过滤板(10),所述过滤板(10)的输出端贯穿剐蹭柜(8)延伸至剐蹭柜(8)的底部外侧,所述支撑架(7)的内部活动嵌套有收集盒(6),所述变压器柜(1)、功率单元柜(2)和控制柜(3)的底部固定安装有移动鼓风柜(4),所述移动鼓风柜(4)正面的外表面固定安装有通风网(5),所述移动鼓风柜(4)内部的顶部从左到右依次固定安装有鼓风机(18),所述鼓风机(18)的输出端分别与变压器柜(1)、功率单元柜(2)和控制柜(3)的内部相连通,所述移动鼓风柜(4)中部的左右两端固定安装有伺服电机(19),所述移动鼓风柜(4)的底部开设有调节板腔(21),所述调节板腔(21)内部中部的左右两端均活动安装有螺杆(20),所述螺杆(20)的顶部输出端贯穿调节板腔(21)延伸至移动鼓风柜(4)的内部与伺服电机(19)的输出端固定连接,所述螺杆(20)的另一端贯穿调节板腔(21)延伸至移动鼓风柜(4)的外侧且与移动鼓风柜(4)的底部活动连接,所述螺杆(20)的外表面螺纹连接有调节板(22),所述调节板(22)的底部固定安装有车轮架(23),所述车轮架(23)的内部活动安装有车轮(24)。

2.根据权利要求1所述的一种配电系统用高压变频器,其特征在于:所述调节板(22)的左右两端均连接有限制块,所述调节板腔(21)的左右两端开设有限制块槽,所述限制块槽与限制块相适配,且限制块槽的宽度与调节板腔(21)的宽度相等,所述调节板(22)的前后侧面与调节板腔(21)前后内侧面紧贴。

3.根据权利要求1所述的一种配电系统用高压变频器,其特征在于:所述调节板腔(21)的内部固定安装有滑杆(25),所述滑杆(25)内表面与调节板(22)的外表面活动套接。

4.根据权利要求1所述的一种配电系统用高压变频器,其特征在于:所述移动鼓风柜(4)的底部开设有车轮孔,所述车轮孔的数量为四个,四个所述车轮孔均与调节板腔(21)相连通。

5.根据权利要求1所述的一种配电系统用高压变频器,其特征在于:所述剐蹭柜(8)为开口状,所述过滤板(10)的宽度大于剐蹭柜(8)开口的宽度,所述过滤板(10)的外表面开设有透气孔。

6.根据权利要求1所述的一种配电系统用高压变频器,其特征在于:所述鼓风机(18)和伺服电机(19)等距分布在移动鼓风柜(4)的内部。