欢迎来到知嘟嘟! 联系电话:13336804447 卖家免费入驻,海量在线求购! 卖家免费入驻,海量在线求购!
知嘟嘟
我要发布
联系电话:13336804447
知嘟嘟经纪人
收藏
专利号: 2020229349632
申请人: 浙江柒号电科技有限公司
专利类型:实用新型
专利状态:已下证
专利领域: 测量;测试
更新日期:2024-01-05
缴费截止日期: 暂无
价格&联系人
年费信息
委托购买

摘要:

权利要求书:

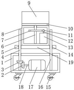
1.一种互联网平台电力系统谐波检测装置,包括底座(1),其特征在于:所述底座(1)的内底壁中部一侧转动连接有螺纹杆(4),所述底座(1)的内底壁中部另一侧固定连接有限位杆(16),所述螺纹杆(4)和限位杆(16)的上端均穿过底座(1)延伸至其上端,所述螺纹杆(4)和限位杆(16)的表面活动连接有活动板(19),所述活动板(19)的表面中部两侧分别开设有螺纹孔(5)和限位孔(14),所述底座(1)的内底壁中部固定连接有第一电动机(17),所述第一电动机(17)的输出端固定连接有第一驱动轴(18),所述第一驱动轴(18)的前端固定连接有第一锥齿轮(2),所述螺纹杆(4)的底端表面固定连接有第二锥齿轮(3),所述活动板(19)的上端位于螺纹杆(4)和限位杆(16)之间的表面固定连接有操作室(8),所述操作室(8)的内底壁中部转动连接有转轴(6),所述转轴(6)的上端穿过操作室(8)并固定连接有转盘(10),所述转盘(10)的上端固定连接有谐波分析仪(9),所述操作室(8)的内底壁一侧固定连接有第二电动机(13),所述第二电动机(13)的输出端固定连接有第二驱动轴(12),所述第二驱动轴(12)的前端固定连接有高速齿轮(11),所述转轴(6)靠近高速齿轮(11)的表面固定连接有低速齿轮(7),所述底座(1)的底端两侧均固定连接有万向轮(15)。

2.根据权利要求1所述的一种互联网平台电力系统谐波检测装置,其特征在于:所述螺纹杆(4)穿过螺纹孔(5)与其螺纹连接。

3.根据权利要求1所述的一种互联网平台电力系统谐波检测装置,其特征在于:所述限位杆(16)穿过限位孔(14)与其光滑接触。

4.根据权利要求1所述的一种互联网平台电力系统谐波检测装置,其特征在于:所述第一锥齿轮(2)与第二锥齿轮(3)啮合。

5.根据权利要求1所述的一种互联网平台电力系统谐波检测装置,其特征在于:所述高速齿轮(11)与低速齿轮(7)啮合。

6.根据权利要求1所述的一种互联网平台电力系统谐波检测装置,其特征在于:所述低速齿轮(7)的齿数远大于高速齿轮(11)的齿数。