欢迎来到知嘟嘟! 联系电话:13336804447 卖家免费入驻,海量在线求购! 卖家免费入驻,海量在线求购!
知嘟嘟
我要发布
联系电话:13336804447
知嘟嘟经纪人
收藏
专利号: 2020229265938
申请人: 陕西萃雅佳生物科技有限公司
专利类型:实用新型
专利状态:已下证
专利领域: 一般的物理或化学的方法或装置
更新日期:2025-05-13
缴费截止日期: 暂无
价格&联系人
年费信息
委托购买

摘要:

权利要求书:

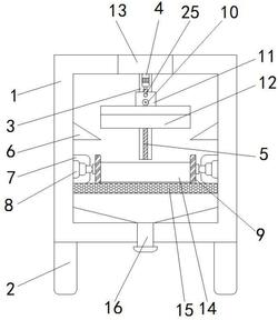
1.一种西瓜果汁粉的固液分离装置,包括安装箱(1)和挡板(14),其特征在于:所述安装箱(1)的底部左右两侧均固定安装有基座(2),所述安装箱(1)的底部连通有位于两个基座(2)之间的排料管(16),所述安装箱(1)的顶部开设有进料口(13),所述安装箱(1)内壁左右两侧均固定安装有导料板(6),所述安装箱(1)的内壁左右两侧之间固定安装有位于导料板(6)下方的过滤板(15),所述过滤板(15)的顶部左右两侧均固定安装有固定座(7),所述固定座(7)的内部固定安装有液压推杆(8),所述液压推杆(8)的输出端延伸至固定座(7)的外侧固定安装有与过滤板(15)顶部贴合的挤压板(9),所述安装箱(1)的内壁前后两侧均开设有安装槽(3),后侧所述安装槽(3)的内顶壁固定安装有第一电机(4),所述第一电机(4)的输出轴固定安装有一端与后侧安装槽(3)内底壁活动连接的第一螺杆(5),前侧所述安装槽(3)的内顶壁与内底壁之间固定安装有第一从动杆(20),所述第一从动杆(20)的外部套接有滑块(21),所述第一螺杆(5)的外部螺纹连接有第一螺纹套(17),所述第一螺纹套(17)的前侧固定安装有电机固定座(18),所述电机固定座(18)的内部固定安装有第二电机(19),所述第二电机(19)的输出轴固定安装有一端与滑块(21)活动连接的第二螺纹杆(10),所述电机固定座(18)与滑块(21)之间固定安装有位于第二螺纹杆(10)上方的第二从动杆(25),所述第二螺纹杆(10)的外部螺纹连接有一端与第二从动杆(25)活动连接的第二螺纹套(11),所述第二螺纹套(11)的底部固定安装有清理板(12),所述安装箱(1)的内壁前后两侧开设有通孔(26),所述通孔(26)的内底壁连通有开设在安装箱(1)上的安装腔(22),所述安装腔(22)的内壁右侧固定安装有第三电机(23),所述第三电机(23)的输出轴固定安装有齿轮(24),所述安装腔(22)内部活动安装有一端与通孔(26)内顶壁贴合的挡板(14),所述齿轮(24)与挡板(14)啮合。

2.根据权利要求1所述的一种西瓜果汁粉的固液分离装置,其特征在于:所述挡板(14)与齿轮(24)相对的一侧固定有齿条,齿条的长度大于齿轮(24)轴心到通孔(26)内顶壁的距离。

3.根据权利要求1所述的一种西瓜果汁粉的固液分离装置,其特征在于:所述安装箱(1)的内壁底部左右两侧均为斜面,排料管(16)的管壁固定安装有阀门。

4.根据权利要求1所述的一种西瓜果汁粉的固液分离装置,其特征在于:所述第二螺纹杆(10)的螺纹长度应大于过滤板(15)的长度。

5.根据权利要求1所述的一种西瓜果汁粉的固液分离装置,其特征在于:所述挡板(14)的外侧壁包裹有与通孔(26)侧壁相互贴合的密封条且密封条的厚度为一到三厘米。

6.根据权利要求1所述的一种西瓜果汁粉的固液分离装置,其特征在于:所述通孔(26)的孔内底壁与过滤板(15)的顶部处于同一水平线。