欢迎来到知嘟嘟! 联系电话:13336804447 卖家免费入驻,海量在线求购! 卖家免费入驻,海量在线求购!
知嘟嘟
我要发布
联系电话:13336804447
知嘟嘟经纪人
收藏
专利号: 2020228714126
申请人: 浙江宗泽复合材料科技有限公司
专利类型:实用新型
专利状态:已下证
专利领域: 制冷或冷却;加热和制冷的联合系统;热泵系统;冰的制造或储存;气体的液化或固化
更新日期:2025-07-02
缴费截止日期: 暂无
价格&联系人
年费信息
委托购买

摘要:

权利要求书:

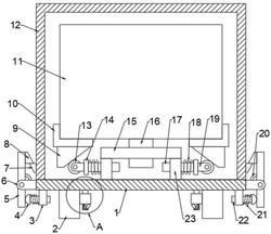
1.一种便于拆卸安装的冷风机外壳,包括底座(1),底座(1)的底部设有支腿(2),其特征在于:所述底座(1)上设有壳体(12),壳体(12)内设有机体(11),底座(1)的上侧设有用于承载机体(11)的角托(10),机体(11)的底部固定有导向柱(16),底座(1)上固定有第二支块(23),第二支块(23)上连接有导向板(15),导向柱(16)滑动设置在导向板(15)上,第二支块(23)上设有用于承托角托(10)的承托组件,底座(1)上设有用于锁定壳体(12)的锁止组件。2.根据权利要求1所述的便于拆卸安装的冷风机外壳,其特征在于:所述锁止组件包括安装座(6)、锁止杆(5)和第一滑杆(22);所述底座(1)上安装有安装座(6)和第一支块(3),锁止杆(5)铰接在安装座(6)上,锁止杆(5)的顶端固定有第二卡块(8),壳体(12)的侧壁上设有与第二卡块(8)配合的第一卡块(7),第一滑杆(22)滑动设置在第一支块(3)上,第一滑杆(22)朝向锁止杆(5)的一端设有半球块(4),半球块(4)与第一支块(3)之间设有第一压簧(21),第一压簧(21)套设在第一滑杆(22)上,安装座(6)上固定有用于限定锁止杆(5)角度的顶杆(20)。3.根据权利要求1所述的便于拆卸安装的冷风机外壳,其特征在于:所述承托组件包括楔形块(9)、转轮(13)和第二滑杆(17);所述第二滑杆(17)滑动设置在第二支块(23)上,第二滑杆(17)上固定有挡块(14),挡块(14)与第二支块(23)之间设有第二压簧(18),第二压簧(18)套设在第二滑杆(17)上,挡块(14)上安装有轮座(19),转轮(13)设置在轮座(19)上,楔形块(9)固定在角托(10)的底部。4.根据权利要求1‑3任一所述的便于拆卸安装的冷风机外壳,其特征在于:所述底座(1)的底部固定有插杆(27),支腿(2)上设有供插杆(27)穿过的插套(26),插杆(27)上开设有凹槽(24),凹槽(24)内铰接有止退杆(25),且止退杆(25)与凹槽(24)的内壁上连接有第三压簧(28)。5.根据权利要求2所述的便于拆卸安装的冷风机外壳,其特征在于:所述壳体(12)上开设有通风孔(31),通风孔(31)上设有防尘网(30),壳体(12)上固定有用于卡住防尘网(30)的L型座(29)。