欢迎来到知嘟嘟! 联系电话:13336804447 卖家免费入驻,海量在线求购! 卖家免费入驻,海量在线求购!
知嘟嘟
我要发布
联系电话:13336804447
知嘟嘟经纪人
收藏
专利号: 2020227307673
申请人: 山东科技职业学院
专利类型:实用新型
专利状态:已下证
专利领域: 纸品制作;纸的加工
更新日期:2023-09-08
缴费截止日期: 暂无
价格&联系人
年费信息
委托购买

摘要:

权利要求书:

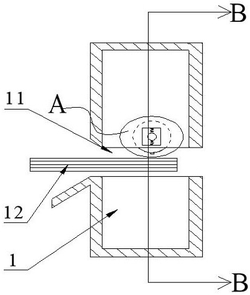
1.一种包装箱纸板输送导向机构,其特征在于,包括输送体,所述输送体上设有纸板通道,所述纸板通道的底部还设有压力感应器;

所述输送体的箱壁上设有两个防护孔,两个所述防护孔相对设置且靠近所述纸板通道,所述防护孔中设有防护轴,所述防护轴的上下两侧与所述防护孔的孔壁之间均设有弹性部件;

所述防护轴上转动套接防护套,所述防护套与纸板活动抵接;所述防护轴的一端还固接移动轴,所述输送体的内部设有承物板,所述移动轴的背部与所述承物板之间连接可移动组件;所述移动轴远离所述防护轴的一端连接气缸的活塞轴。

2.根据权利要求1所述的包装箱纸板输送导向机构,其特征在于,所述可移动组件包括连接在所述移动轴背部的滑轨和连接在所述承物板上面的滑槽,所述滑槽滑动连接所述滑轨。

3.根据权利要求1所述的包装箱纸板输送导向机构,其特征在于,所述弹性部件为弹簧或者弹性橡胶。

4.根据权利要求1所述的包装箱纸板输送导向机构,其特征在于,所述防护套的中部还固接若干条与纸板活动触接的触动部件。

5.根据权利要求4所述的包装箱纸板输送导向机构,其特征在于,每条所述触动部件的宽度均为2 3cm。

~

6.根据权利要求4所述的包装箱纸板输送导向机构,其特征在于,所述触动部件的纵切面为圆柱形。

7.根据权利要求4所述的包装箱纸板输送导向机构,其特征在于,所述触动部件为触动圈。

8.根据权利要求1所述的包装箱纸板输送导向机构,其特征在于,所述压力感应器嵌入所述输送体中。

9.根据权利要求1所述的包装箱纸板输送导向机构,其特征在于,所述气缸、压力感应器均电连接控制单元。