欢迎来到知嘟嘟! 联系电话:13336804447 卖家免费入驻,海量在线求购! 卖家免费入驻,海量在线求购!
知嘟嘟
我要发布
联系电话:13336804447
知嘟嘟经纪人
收藏
专利号: 2020226652515
申请人: 陕西学考乐信息科技有限公司
专利类型:实用新型
专利状态:已下证
专利领域: 输送;包装;贮存;搬运薄的或细丝状材料
更新日期:2024-01-05
缴费截止日期: 暂无
价格&联系人
年费信息
委托购买

摘要:

权利要求书:

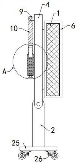
1.一种电子商务平台用服务器,包括服务器(1)和两个对称设置的竖板(2),其特征在于,两个所述竖板(2)的之间固定设有对称的两个横板(3),两个所述竖板(2)的两侧均设有连板(4),两个所述连板(4)之间固定设有放置板(5),所述放置板(5)的右侧固定设有放置箱(6),所述服务器(1)位于放置箱(6)内,两个所述连板(4)之间固定设有横杆(7),所述横杆(7)的杆壁两端与两个所述竖板(2)的上端转动套接,所述横杆(7)的杆壁两端均固定设有限位块(8),两个所述限位块(8)的侧壁均固定设有多个插槽,所述限位块(8)的下方设有插接机构,下方所述横板(3)的下方设有传动机构,所述放置板(5)的左侧上端固定设有U形块(9),所述U形块(9)通过轴销转动连接有顶杆(10),所述放置板(5)的左侧下端固定设有开设有凹槽的限位板(11),所述凹槽内设有限位机构。

2.根据权利要求1所述的一种电子商务平台用服务器,其特征在于,所述限位机构包括限位杆(12),所述顶杆(10)的底部开设有限位槽,所述凹槽的槽底滑动套接有拉杆(13),所述拉杆(13)的顶部固定设有滑板(14),所述滑板(14)的顶部与限位杆(12)固定连接,所述限位杆(12)与限位槽插接,所述拉杆(13)的底部穿过限位板(11)并固定设有拉板(15),所述拉杆(13)的杆壁套接有弹簧(16),所述弹簧(16)的两端分别与滑板(14)和凹槽固定连接。

3.根据权利要求1所述的一种电子商务平台用服务器,其特征在于,所述插接机构包括两个对称设置的丝杆(17),两个所述丝杆(17)的两端均通过转动轴承与两个所述横板(3)转动连接,所述丝杆(17)的杆壁螺纹连接有滑块(18),所述滑块(18)的顶部固定设有对称的两个推杆(19),两个所述推杆(19)的顶部穿过横板(3)并固定设有推板(20),所述推板(20)的顶部固定设有插块(21),所述插块(21)与插槽插接,两个所述丝杆(17)的下端均穿过下方所述横板(3)。

4.根据权利要求1所述的一种电子商务平台用服务器,其特征在于,所述传动机构包括两个对称设置的皮带轮(22),两个所述皮带轮(22)分别与两个丝杆(17)的杆壁下端固定套接,且通过皮带(23)传动连接。

5.根据权利要求3所述的一种电子商务平台用服务器,其特征在于,左侧所述丝杆(17)的杆壁底部固定设有转动块(24)。

6.根据权利要求1所述的一种电子商务平台用服务器,其特征在于,两个所述竖板(2)的底部共同固定设有支撑板(25),所述支撑板(25)的底部固定设有四个呈四角对称设置的万向轮(26)。