欢迎来到知嘟嘟! 联系电话:13336804447 卖家免费入驻,海量在线求购! 卖家免费入驻,海量在线求购!
知嘟嘟
我要发布
联系电话:13336804447
知嘟嘟经纪人
收藏
专利号: 2020226220827
申请人: 中诚鑫锐电力科技有限公司
专利类型:实用新型
专利状态:已下证
专利领域: 发电、变电或配电
更新日期:2024-12-06
缴费截止日期: 暂无
价格&联系人
年费信息
委托购买

摘要:

权利要求书:

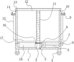
1.电网质量监测及谐波处理装置,包括检测设备本体,其特征在于:还包括设备箱(1),位于所述设备箱(1)底部中间位置竖直固定嵌入有第一轴承(3),第一轴承(3)的内圈中固定安装有螺纹丝杆(2),螺纹丝杆(2)下部水平固定套接有第一齿轮(16),设备箱(1)内腔底部左侧竖直向上固定安装有蓄电池(18),位于所述设备箱(1)右侧下部中间位置固定嵌入有第二轴承(7),第二轴承(7)的内圈固定安装有转杆(5),位于所述转杆(5)左端固定连接有冠齿轮(8),冠齿轮(8)与第一齿轮(16)啮合;

所述设备箱(1)内腔活动安装有底板(17),所述检测设备本体位于底板(17)的上方,底板(17)上部中间位置竖直向上固定连通有内螺纹管(11),内螺纹管(11)与螺纹丝杆(2)螺纹连接,位于所述内螺纹管(11)上端部垂直固定连接有顶盖(12),位于所述设备箱(1)左右两侧上部均通过销轴(10)活动铰接有托板(15),托板(15)上部中间位置旋接有螺栓(9)。

2.根据权利要求1所述的电网质量监测及谐波处理装置,其特征在于:所述转杆(5)右端部固定安装有摇把(6)。

3.根据权利要求1所述的电网质量监测及谐波处理装置,其特征在于:所述设备箱(1)上端部固定连接有密封胶条(13)。

4.根据权利要求1所述的电网质量监测及谐波处理装置,其特征在于:位于所述设备箱(1)左右两侧壁上部中间位置均水平开设有与螺栓(9)适配的螺栓孔(14)。

5.根据权利要求1所述的电网质量监测及谐波处理装置,其特征在于:所述设备箱(1)底部四角处均固定安装有万向轮(4)。