欢迎来到知嘟嘟! 联系电话:13336804447 卖家免费入驻,海量在线求购! 卖家免费入驻,海量在线求购!
知嘟嘟
我要发布
联系电话:13336804447
知嘟嘟经纪人
收藏
专利号: 2020225519916
申请人: 江苏美雅特装饰材料有限公司
专利类型:实用新型
专利状态:已下证
专利领域: 加工水泥、黏土或石料
更新日期:2024-02-27
缴费截止日期: 暂无
价格&联系人
年费信息
委托购买

摘要:

权利要求书:

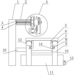
1.一种带废料收集功能的石英石板材切割装置,包括第一支撑架(1),其特征在于:所述第一支撑架(1)上端设有支撑框(2),所述支撑框(2)的内部设有两个导向滑竿(3),且两个导向滑竿(3)之间安装有第一传动丝杆(4),所述第一传动丝杆(4)远离第一支撑架(1)的一端安装有第一电动机(20),所述第一传动丝杆(4)上螺接有贯穿两个导向滑竿(3)的移动板块(19),所述移动板块(19)的正面安装有气缸(16),所述气缸(16)的伸缩杆下安装有靠板(24),所述靠板(24)的正面安装有第二电动机(23),所述第二电动机(23)的输出轴上安装有切割刀(22);所述第一支撑架(1)的内侧端对称设有两个第二支撑架(9),两个第二支撑架(9)之间等距离的设有若干横钢杆(10),每个所述第二支撑架(9)的顶部均设有滑轨(12),所述第二支撑架(9)的上方设有放置台(6),且放置台(6)的下端对称设有在滑轨(12)上滑动的滑块(7),两个第二支撑架(9)的内侧壁对称开设有凹槽(14),两个所述凹槽(14)内均安装有第二传动丝杆(8),所述第二传动丝杆(8)上分别连接有L形支架(5),所述L形支架(5)设有两个,且L形支架(5)的顶部和放置台(6)的底部相连接,两个所述第二传动丝杆(8)的前端均安装有第三电动机(15);所述第二支撑架(9)呈C形状,两个所述第二支撑架(9)之间放置有位于横钢杆(10)下方的废水收集箱(11),所述废水收集箱(11)位于放置台(6)的正下方,所述废水收集箱(11)的侧壁安装有排水管(13)。2.根据权利要求1所述的一种带废料收集功能的石英石板材切割装置,其特征在于:所述切割刀(22)呈圆形,所述切割刀(22)的表面喷涂有镀锌防锈层,且切割刀(22)的上方安装有防护罩(21),所述防护罩(21)呈半圆形。3.根据权利要求1所述的一种带废料收集功能的石英石板材切割装置,其特征在于:所述移动板块(19)的顶部安装有位于气缸(16)右端的冷却液存储箱(17),所述冷却液存储箱(17)的顶部设有一体成型的注液口,所述冷却液存储箱(17)的侧壁连接有冷却水管(18),所述冷却水管(18)延伸至切割刀(22)位置处,所述冷却水管(18)上安装有喷液头。4.根据权利要求1所述的一种带废料收集功能的石英石板材切割装置,其特征在于:所述废水收集箱(11)的宽度和长度均大于放置台(6)的宽度和长度。5.根据权利要求1所述的一种带废料收集功能的石英石板材切割装置,其特征在于:所述第一支撑架(1)通过连接杆(25)与其相靠近的第二支撑架(9)固定连接。6.根据权利要求3所述的一种带废料收集功能的石英石板材切割装置,其特征在于:所述排水管(13)上安装有阀门,所述冷却水管(18)为波纹管,所述冷却水管(18)上安装有阀门。