欢迎来到知嘟嘟! 联系电话:13336804447 卖家免费入驻,海量在线求购! 卖家免费入驻,海量在线求购!
知嘟嘟
我要发布
联系电话:13336804447
知嘟嘟经纪人
收藏
专利号: 2020225211498
申请人: 南京翼之博信息科技有限公司
专利类型:实用新型
专利状态:已下证
专利领域: 信号装置
更新日期:2024-02-28
缴费截止日期: 暂无
价格&联系人
年费信息
委托购买

摘要:

权利要求书:

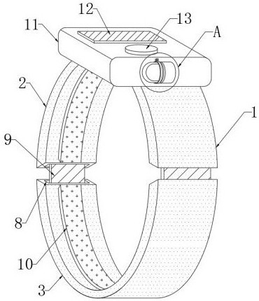
1.一种救生用防水呼叫装置,包括手腕套环(1)和呼叫器(11),其特征在于:所述手腕套环(1)由第一套环(2)和第二套环(3)组成,所述第一套环(2)和第二套环(3)内壁均开设有活动滑槽(4),所述活动滑槽(4)的数量设置有两个,两个所述活动滑槽(4)均关于第一套环(2)和第二套环(3)的中轴线对称设置,所述活动滑槽(4)内部滑动连接有活动滑板(5),所述第一套环(2)和第二套环(3)内部远离活动滑板(5)的一侧均固定连接有固定板(6),所述第一套环(2)和第二套环(3)外壁一侧均贯穿有活动槽(8),两个所述活动滑板(5)之间固定连接有弹力带(9),所述弹力带(9)贯穿活动槽(8)内部,所述第一套环(2)和第二套环(3)内壁均固定连接有贴合垫(10),所述贴合垫(10)由硅胶材质制成,所述手腕套环(1)顶部固定连接有呼叫器(11),所述呼叫器(11)顶部固定连接有防护显示屏(12),所述呼叫器(11)顶部远离防护显示屏(12)一侧设置有防水按钮(13)。

2.根据权利要求1所述的一种救生用防水呼叫装置,其特征在于:所述呼叫器(11)外壁一侧固定连接有警报器底座(14),所述警报器底座(14)内部设置有警报器本体(15),所述警报器底座(14)外壁活动套接有防水防护板(16)。

3.根据权利要求2所述的一种救生用防水呼叫装置,其特征在于:所述防水防护板(16)与警报器底座(14)之间设置有密封涂层(17),所述密封涂层(17)与防水防护板(16)内壁固定连接。

4.根据权利要求2所述的一种救生用防水呼叫装置,其特征在于:所述防水防护板(16)外壁一侧设置有活动轴(18),所述活动轴(18)外壁两侧分别铰接有第一卡箍(19)和第二卡箍(20)。

5.根据权利要求4所述的一种救生用防水呼叫装置,其特征在于:所述第一卡箍(19)和第二卡箍(20)内部均贯穿有螺纹孔,所述螺纹孔内部螺纹连接有螺纹杆(21)。

6.根据权利要求1所述的一种救生用防水呼叫装置,其特征在于:所述固定板(6)与活动滑板(5)之间固定连接有复位弹簧(7),所述复位弹簧(7)的数量设置有三个。

我要求购
我不想找了,帮我找吧
您有专利需要变现?
我要出售
智能匹配需求,快速出售