欢迎来到知嘟嘟! 联系电话:13336804447 卖家免费入驻,海量在线求购! 卖家免费入驻,海量在线求购!
知嘟嘟
我要发布
联系电话:13336804447
知嘟嘟经纪人
收藏
专利号: 2020224980002
申请人: 陕西腾达远创电子科技有限公司
专利类型:实用新型
专利状态:已下证
专利领域: 发电、变电或配电
更新日期:2024-02-23
缴费截止日期: 暂无
价格&联系人
年费信息
委托购买

摘要:

权利要求书:

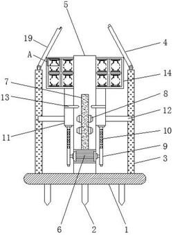
1.一种基于配电网架的配电网规划装置,包括底座(1)和第二挡板(19),其特征在于:所述底座(1)的下方设置有插针(2),且底座(1)的上方两侧安装有固定板(3),所述固定板(3)的上方设置有第一挡板(4)和第二挡板(19),所述底座(1)得到上方中间安装有固定柱(5),且固定柱(5)的内部设置有电机(6),所述电机(6)的上方连接有安装杆(7),且安装杆(7)的表面安装有警报器(8),所述电机(6)的两侧设置有齿轮(9),且齿轮(9)的一侧安装有齿条板(10),所述齿条板(10)的上方设置有安装盒(11),且安装盒(11)的一侧安装有滑杆(12),所述安装盒(11)的内部设置有抵杆(13),且安装盒(11)的上方安装有安装箱(14),所述安装箱(14)的内部设置有滑道(15),且滑道(15)一侧安装有滑块(16),所述滑块(16)的一侧设置有弹簧(17),且弹簧(17)的一侧安装有夹持板(18)。

2.根据权利要求1所述的一种基于配电网架的配电网规划装置,其特征在于:所述第一挡板(4)与第二挡板(19)关于底座(1)中心对称设置,且第一挡板(4)与第二挡板(19)与固定板(3)构成转动结构。

3.根据权利要求1所述的一种基于配电网架的配电网规划装置,其特征在于:所述齿轮(9)与齿条板(10)为啮合连接,且齿条板(10)与安装盒(11)构成一体化结构。

4.根据权利要求1所述的一种基于配电网架的配电网规划装置,其特征在于:所述滑杆(12)与固定板(3)构成滑动结构,且滑杆(12)关于固定柱(5)中心线对称设置有2个。

5.根据权利要求1所述的一种基于配电网架的配电网规划装置,其特征在于:所述抵杆(13)为凸形状,且抵杆(13)与警报器(8)构成滑动摩擦结构。

6.根据权利要求1所述的一种基于配电网架的配电网规划装置,其特征在于:所述滑块(16)与滑道(15)构成滑动结构,且滑块(16)通过弹簧(17)与夹持板(18)构成弹性结构。