欢迎来到知嘟嘟! 联系电话:13336804447 卖家免费入驻,海量在线求购! 卖家免费入驻,海量在线求购!
知嘟嘟
我要发布
联系电话:13336804447
知嘟嘟经纪人
收藏
专利号: 2020224921199
申请人: 上海洋姜智能科技有限公司
专利类型:实用新型
专利状态:已下证
专利领域: 基本电气元件
更新日期:2024-04-08
缴费截止日期: 暂无
价格&联系人
年费信息
委托购买

摘要:

权利要求书:

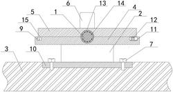
1.一种电流引线固定块,包括引线(1)和安装本体(3),其特征在于,所述安装本体(3)的顶部安装有安装板(10),且安装板(10)的顶部安装有支撑柱(2),并且支撑柱(2)的顶部固定连接有第一固定板(4),所述第一固定板(4)上设有第二固定板(5),所述第一固定板(4)的两侧顶部分别开设有安装槽(15)和滑槽(11),所述第二固定板(5)的两侧分别固定连接有锁扣(9)和滑扣(12)。2.根据权利要求1所述的一种电流引线固定块,其特征在于,所述安装板(10)嵌设于安装本体(3)的顶部,所述安装板(10)的顶部两侧贯穿安装有紧固螺栓(7)。3.根据权利要求1所述的一种电流引线固定块,其特征在于,所述锁扣(9)可嵌设于安装槽(15)内部,所述滑扣(12)可滑动安装与滑槽(11)的上部。4.根据权利要求1所述的一种电流引线固定块,其特征在于,所述第一固定板(4)和第二固定板(5)的中部均安装有固定套(13),且固定套(13)的内侧分别固定连接有多个抵压块(14)。5.根据权利要求4所述的一种电流引线固定块,其特征在于,所述抵压块(14)分别位于引线(1)的外部,所述抵压块(14)为硅胶材质制成。6.根据权利要求1所述的一种电流引线固定块,其特征在于,所述第二固定板(5)的顶部安装有拉板(6),且拉板(6)的中部开设有夹孔(8)。