欢迎来到知嘟嘟! 联系电话:13336804447 卖家免费入驻,海量在线求购! 卖家免费入驻,海量在线求购!
知嘟嘟
我要发布
联系电话:13336804447
知嘟嘟经纪人
收藏
专利号: 2020224319486
申请人: 杭州临安雷剑电缆材料有限公司
专利类型:实用新型
专利状态:已下证
专利领域: 干燥
更新日期:2024-12-31
缴费截止日期: 暂无
价格&联系人
年费信息
委托购买

摘要:

权利要求书:

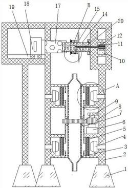
1.一种用于铜包钢生产的烘干装置,包括底座(1),其特征在于,所述底座(1)的顶端固定连接有支架(2),所述支架(2)的内壁固定安装有烘干管(3),所述烘干管(3)的内部开设有通风孔,所述烘干管(3)的顶部、底部均开设有圆形开口,所述烘干管(3)的外壁固定连接有通风筒(7),所述烘干管(3)的中部外环固定连接有第二齿轮(9),所述支架(2)的内壁固定安装有鼓风机(4),所述支架(2)的内壁固定安装有电热管(5),所述通风筒(7)的外侧与电热管(5)的内侧固定连接,所述鼓风机(4)的出风口位于电热管(5)的外侧,所述支架(2)的内壁固定安装有第一电机(6),所述第一电机(6)的输出端固定连接有第一齿轮(8),所述第一齿轮(8)与第二齿轮(9)啮合连接,所述支架(2)的顶部内壁固定安装有第二电机(10),所述第二电机(10)的输出端固定连接有转轴(11),所述转轴(11)的内部固定连接有钢丝绳(12),所述钢丝绳(12)缠绕在转轴(11)的外环,所述钢丝绳(12)的另一端转动连接有空心绳(20),所述空心绳(20)的另一端固定连接有夹具(13),所述支架(2)的顶部内壁固定安装有滑轨(19),所述滑轨(19)的上表面滑动安装有第三电机(18),所述第三电机(18)的输出端固定连接有空心转轴(17),所述空心转轴(17)的另一端活动套接有转动杆(14),所述转动杆(14)的外壁固定连接有卷线器(15),所述卷线器(15)的左侧顶部、底部外侧均固定连接有挡块(16),所述钢丝绳(12)贯穿支架(2)的侧壁,所述钢丝绳(12)贯穿转动杆(14)和卷线器(15)。

2.根据权利要求1所述的一种用于铜包钢生产的烘干装置,其特征在于,所述烘干管(3)顶端和底端的为截面直径小于中部的截面直径,所述烘干管(3)的通风孔为圆形,且通风孔设置有多个。

3.根据权利要求1所述的一种用于铜包钢生产的烘干装置,其特征在于,所述通风筒(7)的外侧开设有四个开口,所述电热管(5)、鼓风机(4)均设置有四个,所述电热管(5)位于通风筒(7)的开口处。

4.根据权利要求1所述的一种用于铜包钢生产的烘干装置,其特征在于,所述鼓风机(4)的进风管贯穿并延伸至支架(2)的外侧。

5.根据权利要求1所述的一种用于铜包钢生产的烘干装置,其特征在于,所述空心转轴(17)的内环截面为正方形,所述空心转轴(17)的外环截面为圆形,所述转动杆(14)的纵截面为正方形,所述转动杆(14)的尺寸与空心转轴(17)的内环相匹配。

6.根据权利要求1所述的一种用于铜包钢生产的烘干装置,其特征在于,所述挡块(16)的底部通过弹簧与卷线器(15)固定连接,所述卷线器(15)的外环右侧固定连接有挡板,所述挡块(16)的正截面为直角三角形,所述挡块(16)设置有两个。

7.根据权利要求1所述的一种用于铜包钢生产的烘干装置,其特征在于,所述第三电机(18)的外壁固定连接有手柄,所述夹具(13)的纵截面为Ω形状。

8.根据权利要求1所述的一种用于铜包钢生产的烘干装置,其特征在于,所述转动杆(14)的内部设置有L型圆柱槽,所述钢丝绳(12)位于L型圆柱槽内,所述L型圆柱槽位于转动杆(14)的中心轴位置。