欢迎来到知嘟嘟! 联系电话:13336804447 卖家免费入驻,海量在线求购! 卖家免费入驻,海量在线求购!
知嘟嘟
我要发布
联系电话:13336804447
知嘟嘟经纪人
收藏
专利号: 202022400183X
申请人: 义乌工商职业技术学院
专利类型:实用新型
专利状态:已下证
专利领域: 一般的物理或化学的方法或装置
更新日期:2023-12-11
缴费截止日期: 暂无
价格&联系人
年费信息
委托购买

摘要:

权利要求书:

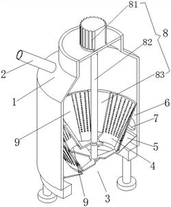
1.一种建筑工程用废水排放处理装置,包括滤桶,所述滤桶上部设有进液管,底部设有出废口,其特征在于:所述滤桶内的底部设有上大下小且呈锥筒状的过滤架,所述过滤架的上端与滤桶的内壁贴合,所述过滤架的底端连接有圆盘,圆盘的外缘与滤桶内壁贴合,其内缘与过滤架底部相衔接,使得过滤架外侧与滤桶内壁的衔接段形成一闭合空间,所述滤桶上设有出液管,出液管通入该闭合空间,所述滤桶上设有浑搅装置。

2.根据权利要求1所述的一种建筑工程用废水排放处理装置,其特征在于:所述浑搅装置包括电机、连杆、旋转座,所述电机设于滤桶的顶部,其输出端通入滤桶内并与连杆相连,所述旋转座设于连杆底部。

3.根据权利要求2所述的一种建筑工程用废水排放处理装置,其特征在于:所述旋转座呈板状并设有多个,多个旋转座分别绕连杆轴心线等角度分布,所述旋转座由下至上倾斜向外侧布置。

4.根据权利要求2所述的一种建筑工程用废水排放处理装置,其特征在于:所述旋转座呈螺旋状。

5.根据权利要求2所述的一种建筑工程用废水排放处理装置,其特征在于:还包括套于连杆底部的清滤板,淸滤板由下至上倾斜向外侧布置,且其外侧壁紧挨过滤架的内侧。

6.根据权利要求5所述的一种建筑工程用废水排放处理装置,其特征在于:所述旋转座设于淸滤板的相对内侧,所述淸滤板整个的处于过滤架内,旋转座的下部位于过滤架内。