欢迎来到知嘟嘟! 联系电话:13336804447 卖家免费入驻,海量在线求购! 卖家免费入驻,海量在线求购!
知嘟嘟
我要发布
联系电话:13336804447
知嘟嘟经纪人
收藏
专利号: 202022374597X
申请人: 深圳市雨辰企业管理有限公司
专利类型:实用新型
专利状态:已下证
专利领域: 电通信技术
更新日期:2024-06-26
缴费截止日期: 暂无
价格&联系人
年费信息
委托购买

摘要:

权利要求书:

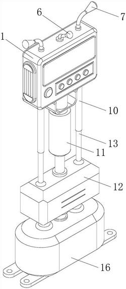
1.一种语音识别自动答话销售平台语音播报装置,包括播报功能头(1),所述播报功能头(1)的侧面固定安装有扩音喇叭(2),其特征在于:所述播报功能头(1)的顶部安装有第一收音筒(6)和第二收音筒(7),所述播报功能头(1)的底部固定连接有紧固板(8),所述紧固板(8)的内部贯穿安装有螺纹升降杆(9),所述紧固板(8)的底部连接有限位管(10),所述螺纹升降杆(9)的表面螺纹连接有驱动管(11),所述驱动管(11)的底部贯穿连接有电机箱(12),所述电机箱(12)的顶部固定安装有限位杆(13),所述电机箱(12)的底部固定连接有驱动轴(14),所述驱动轴(14)的底部连接有交流电机(15),所述交流电机(15)的外表面安装有封装箱(16),所述电机箱(12)的底部固定连接有支撑杆(17)。

2.根据权利要求1所述的一种语音识别自动答话销售平台语音播报装置,其特征在于:所述扩音喇叭(2)分别设置于播报功能头(1)的两个相对侧面,所述扩音喇叭(2)的表面设置有防尘面板。

3.根据权利要求1所述的一种语音识别自动答话销售平台语音播报装置,其特征在于:所述播报功能头(1)的正面设置有开关(3)和功能按键(5),所述播报功能头(1)的表面嵌设有显示屏(4)。

4.根据权利要求1所述的一种语音识别自动答话销售平台语音播报装置,其特征在于:所述第二收音筒(7)关于播报功能头(1)的二等分面对称设置,所述第二收音筒(7)分别设置于播报功能头(1)的顶部两端。

5.根据权利要求1所述的一种语音识别自动答话销售平台语音播报装置,其特征在于:所述电机箱(12)的内部安装有电机,且电机的输出端与驱动管(11)的底部固定连接。

6.根据权利要求1所述的一种语音识别自动答话销售平台语音播报装置,其特征在于:所述限位杆(13)与限位管(10)互相适配,所述限位杆(13)的表面与限位管(10)的内壁相切。

7.根据权利要求1所述的一种语音识别自动答话销售平台语音播报装置,其特征在于:所述支撑杆(17)的底部设置有橡胶圈(18),所述橡胶圈(18)与封装箱(16)的顶面贴合接触。