欢迎来到知嘟嘟! 联系电话:13336804447 卖家免费入驻,海量在线求购! 卖家免费入驻,海量在线求购!
知嘟嘟
我要发布
联系电话:13336804447
知嘟嘟经纪人
收藏
专利号: 2020222860311
申请人: 黄帆
专利类型:实用新型
专利状态:已下证
专利领域: 农业;林业;畜牧业;狩猎;诱捕;捕鱼
更新日期:2024-02-28
缴费截止日期: 暂无
价格&联系人
年费信息
委托购买

摘要:

权利要求书:

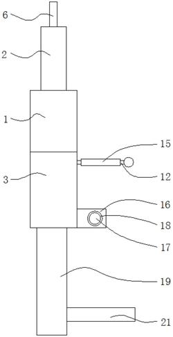
1.一种用于柑橘果实快速采摘装置,其特征在于,包括:活动框(1),所述活动框(1)的顶部固定连接有U型块(2),所述活动框(1)的底部固定连接有操作框(3),所述U型块(2)的内壁的底部的两侧均滑动连接有两个滑动块(4),两个所述滑动块(4)的顶部均固定连接有连接块(5),两个所述连接块(5)相对的一侧均固定连接有裁剪刀(6),两个所述滑动块(4)的底部均贯穿所述活动框(1)并延伸至所述活动框(1)的内部,两个所述滑动块(4)延伸至所述活动框(1)的底部的一端均固定连接有横板(7),两个所述横板(7)的底部均固定连接有驱动板(8),两个所述驱动板(8)相对的一侧之间固定连接有挤压弹簧(9),两个所述驱动板(8)的相对的一侧的底部均固定连接有绳索(10),两个所述绳索(10)的一端均贯穿所述操作框(3)并延伸至所述操作框(3)的内部,两个所述绳索(10)延伸至所述操作框(3)的内部的一端之间固定连接有移动板(11),所述移动板(11)的两侧分别滑动连接于所述操作框(3)的内壁的两侧,所述移动板(11)的正面固定连接有操作杆(12),所述操作杆(12)的一端贯穿所述操作框(3)并延伸至所述操作框(3)的外部。

2.根据权利要求1所述的用于柑橘果实快速采摘装置,其特征在于,所述活动框(1)的内壁的正面的两侧均转动连接有滚轮(13),两个所述滚轮(13)的外表面与两个所述绳索(10)接触。

3.根据权利要求1所述的用于柑橘果实快速采摘装置,其特征在于,所述移动板(11)的底部固定连接有辅助弹簧(14),所述辅助弹簧(14)的底端固定于所述操作框(3)的内壁的底部。

4.根据权利要求1所述的用于柑橘果实快速采摘装置,其特征在于,所述操作杆(12)延伸至所述操作框(3)的外部的一端的外表面固定连接有缓冲套A(15)。

5.根据权利要求1所述的用于柑橘果实快速采摘装置,其特征在于,所述操作框(3)的一侧的底部固定连接有限位块(16),所述限位块(16)的内部开设有限位槽(17),所述限位槽(17)的内表面设置有缓冲套B(18)。

6.根据权利要求1所述的用于柑橘果实快速采摘装置,其特征在于,所述操作框(3)的底部固定连接有U型防护板(19),所述U型防护板(19)内壁的一侧设置有缓冲垫(20)。

7.根据权利要求6所述的用于柑橘果实快速采摘装置,其特征在于,所述U型防护板(19)的两侧分别设置有第一绑带(21)和第二绑带(22),所述第一绑带(21)上设置有上魔术贴(23),所述第二绑带(22)上设置有下魔术贴(24)。