欢迎来到知嘟嘟! 联系电话:13336804447 卖家免费入驻,海量在线求购! 卖家免费入驻,海量在线求购!
知嘟嘟
我要发布
联系电话:13336804447
知嘟嘟经纪人
收藏
专利号: 2020221871728
申请人: 陕西众星蓝图教育科技有限公司
专利类型:实用新型
专利状态:已下证
专利领域: 核算装置
更新日期:2024-01-08
缴费截止日期: 暂无
价格&联系人
年费信息
委托购买

摘要:

权利要求书:

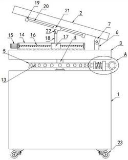
1.一种方便使用的财务咨询智能机器人,包括机体(1)和智能显示屏(2),其特征在于,所述机体(1)的上方水平设有旋转板(3),所述旋转板(3)的下表面中心处固定设有旋转杆(4),所述旋转杆(4)的下端通过第一轴承所述机体(1)的顶部转动连接,所述旋转杆(4)的杆壁固定固定设有转盘(5),所述机体(1)的顶部右侧设有用于将所述转盘(5)固定的卡紧机构,所述智能显示屏(2)位于所述旋转板(3)的上方,所述旋转板(3)的上表面右侧固定设有支撑杆(6),所述智能显示屏(2)的背面右侧固定设有第一U型块(7),所述支撑杆(6)的上端通过第一轴销与所述第一U型块(7)转动连接,所述旋转板(3)和智能显示屏(2)之间设有角度调节机构。

2.根据权利要求1所述的一种方便使用的财务咨询智能机器人,其特征在于,所述卡紧机构包括固定块(8)、卡杆(9)、固定环(10)和弹簧(11),所述固定块(8)固定设置于所述机体(1)的顶部,所述卡杆(9)的杆壁通过滑孔与所述固定块(8)滑动设置,所述固定环(10)固定设置于所述卡杆(9)的杆壁上,所述弹簧(11)活动套接于所述卡杆(9)的杆壁上,且弹簧(11)的两端分别与所述固定块(8)和固定环(10)的侧壁固定连接,所述转盘(5)的圆周壁开设有多个均匀分布的卡槽(13),所述卡杆(9)的左端通过卡槽(13)与所述转盘(5)卡接设置。

3.根据权利要求2所述的一种方便使用的财务咨询智能机器人,其特征在于,所述卡杆(9)的右端固定设有拉环(12)。

4.根据权利要求1所述的一种方便使用的财务咨询智能机器人,其特征在于,所述角度调节机构包括固定板(14)、电机(15)、丝杆(16)、移动块(17)和调节杆(18),所述固定板(14)固定设置于所述旋转板(3)的上表面,所述固定板(14)的上表面开设有条形槽,所述丝杆(16)呈横向位于所述条形槽的内部,且丝杆(16)的两端均通过第二轴承与所述条形槽的两侧转动连接,所述电机(15)固定设置于所述固定板(14)的左侧壁上,所述电机(15)的输出端与所述丝杆(16)的左端固定连接,所述移动块(17)固定设置于所述条形槽的内部,且移动块(17)的侧壁通过螺纹孔与所述丝杆(16)的杆壁螺纹连接,所述调节杆(18)呈竖直固定设置于所述移动块(17)的上侧,所述调节杆(18)的上端与所述智能显示屏(2)的背面滑动连接。

5.根据权利要求4所述的一种方便使用的财务咨询智能机器人,其特征在于,所述智能显示屏(2)的背面对称固定设有两个安装块(19),两个所述安装块(19)之间固定设有限位滑杆(20),所述限位滑杆(20)的杆壁滑动设置有限位滑块(21),所述限位滑块(21)的下侧固定设有第二U型块(22),所述调节杆(18)的上端通过第二轴销与所述第二U型块(22)转动连接。

6.根据权利要求1所述的一种方便使用的财务咨询智能机器人,其特征在于,所述机体(1)的底部四角处均固定设有万向轮(23)。