欢迎来到知嘟嘟! 联系电话:13336804447 卖家免费入驻,海量在线求购! 卖家免费入驻,海量在线求购!
知嘟嘟
我要发布
联系电话:13336804447
知嘟嘟经纪人
收藏
专利号: 2020221239174
申请人: 黄泽楷
专利类型:实用新型
专利状态:已下证
专利领域: 工程元件或部件;为产生和保持机器或设备的有效运行的一般措施;一般绝热
更新日期:2023-11-27
缴费截止日期: 暂无
价格&联系人
年费信息
委托购买

摘要:

权利要求书:

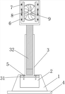
1.一种矿下瓦斯检测仪固定支架,包括底座(1),其特征在于:所述底座(1)顶部的中央开设有安装槽,安装槽的内部活动插接有配重块(2),所述配重块(2)顶部的中央固定连接有内螺纹柱(3),所述内螺纹柱(3)的顶部螺纹连接有外螺纹柱(32),所述外螺纹柱(32)的顶部固定连接有U形框架(6),所述U形框架(6)背面底部的中央固定连接有连接螺母(11),所述外螺纹柱(32)的顶部螺纹连接于连接螺母(11)的内部,所述U形框架(6)内壁左右两侧均固定连接有复位弹簧(7),所述复位弹簧(7)靠近U形框架(6)中心的一侧固定连接有挤压板(8),所述挤压板(8)靠近U形框架(6)中心的一侧固定连接有防滑垫,所述U形框架(6)正面的中央安装有排风扇(9),所述排风扇(9)贯通U形框架(6)的背面,所述U形框架(6)背面顶部固定连接有电源仓(10),所述电源仓(10)的内部安装有电池,所述排风扇(9)与电池电连接。

2.根据权利要求1所述的一种矿下瓦斯检测仪固定支架,其特征在于:所述内螺纹柱(3)的底部固定连接有连接板(31),所述连接板(31)顶部且靠近左右两侧的位置处均开设有第一螺纹孔,所述配重块(2)顶部且与第一螺纹孔对应的位置处开设有第二螺纹孔,第一螺纹孔与第二螺纹孔之间螺纹连接有螺丝。

3.根据权利要求2所述的一种矿下瓦斯检测仪固定支架,其特征在于:安装槽的顶部活动插接有两个密封圈(5),所述密封圈(5)的俯视面为“匚”形结构,两个密封圈(5)以底座(1)的中心为原点呈镜像设置。

4.根据权利要求1所述的一种矿下瓦斯检测仪固定支架,其特征在于:所述配重块(2)和连接板(31)的长度和宽度分别与安装槽的长度和宽度相同,所述配重块(2)、连接板(31)和密封圈(5)的高度之和与安装槽的高度相同。

5.根据权利要求1所述的一种矿下瓦斯检测仪固定支架,其特征在于:所述底座(1)为正四棱台形结构,所述底座(1)的底部固定连接有橡胶垫(4),所述橡胶垫(4)为长方体,所述橡胶垫(4)的俯视面为正方形。

6.根据权利要求1所述的一种矿下瓦斯检测仪固定支架,其特征在于:所述U形框架(6)左右两侧的复位弹簧(7)均有四个,四个复位弹簧(7)沿垂直方向呈等距离分布。