欢迎来到知嘟嘟! 联系电话:13336804447 卖家免费入驻,海量在线求购! 卖家免费入驻,海量在线求购!
知嘟嘟
我要发布
联系电话:13336804447
知嘟嘟经纪人
收藏
专利号: 2020220768927
申请人: 骆辉煌
专利类型:实用新型
专利状态:已下证
专利领域: 一般的物理或化学的方法或装置
更新日期:2024-02-28
缴费截止日期: 暂无
价格&联系人
年费信息
委托购买

摘要:

权利要求书:

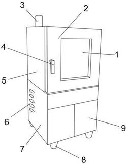
1.一种玉米浆生物干燥设备,其结构包括透视窗(1)、防护门(2)、电源指示灯(3)、门把手(4)、自动推出装置(5)、散热口(6)、玉米浆生物干燥机体(7)、支撑脚(8)、盖板(9),所述透视窗(1)侧面镶嵌在防护门(2)内部,所述防护门(2)左端前侧与门把手(4)背部垂直连接,所述支撑脚(8)依次连接成长方形结构排列于玉米浆生物干燥机体(7)底部,其特征在于:

所述玉米浆生物干燥机体(7)下半端前侧设有盖板(9),所述防护门(2)安装在玉米浆生物干燥机体(7)上半端前侧,所述自动推出装置(5)安装在玉米浆生物干燥机体(7)内部,所述散热口(6)从上到下间隔相同依次排列于玉米浆生物干燥机体(7)左侧,所述电源指示灯(3)底部与玉米浆生物干燥机体(7)顶部垂直连接;

所述自动推出装置(5)由伺服电机(501)、外螺纹连接杆(502)、内螺纹连接筒(503)、放置架(504)、第一滑轮(505)、定位底架(506)、第二滑轮(507)组成,所述伺服电机(501)右端与外螺纹连接杆(502)左端垂直连接,所述外螺纹连接杆(502)侧面与内螺纹连接筒(503)内部通过螺纹进行连接,所述内螺纹连接筒(503)右端与放置架(504)左端焊接,所述放置架(504)底侧与第一滑轮(505)、第二滑轮(507)顶侧滑动连接,所述定位底架(506)左右两端顶部装有第一滑轮(505)、第二滑轮(507)。

2.根据权利要求1所述的一种玉米浆生物干燥设备,其特征在于:所述定位底架(506)由套杆(5061)、纵向连接杆(5062)、底板(5063)组成。

3.根据权利要求2所述的一种玉米浆生物干燥设备,其特征在于:所述纵向连接杆(5062)顶部与套杆(5061)中端底部焊接。

4.根据权利要求2所述的一种玉米浆生物干燥设备,其特征在于:所述套杆(5061)两端装有第一滑轮(505)、第二滑轮(507)。

5.根据权利要求2所述的一种玉米浆生物干燥设备,其特征在于:所述底板(5063)中端顶部与纵向连接杆(5062)底部焊接。