欢迎来到知嘟嘟! 联系电话:13336804447 卖家免费入驻,海量在线求购! 卖家免费入驻,海量在线求购!
知嘟嘟
我要发布
联系电话:13336804447
知嘟嘟经纪人
收藏
专利号: 202021990367X
申请人: 南京安卓智能系统有限公司
专利类型:实用新型
专利状态:已下证
专利领域: 信号装置
更新日期:2025-04-03
缴费截止日期: 暂无
价格&联系人
年费信息
委托购买

摘要:

权利要求书:

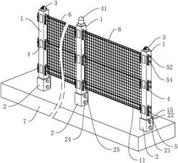
1.一种脉冲电子围栏周界报警系统,其特征在于:包括若干电子围栏本体(1)和若干预先固定在电子围栏本体(1)待安装位置的预置壳(2),若干所述电子围栏本体(1)之间连接有若干感应线缆(11);

所述预置壳(2)开设有供所述电子围栏本体(1)插入的对接槽(21),所述预置壳(2)的侧壁开设有供所述电子围栏本体(1)倾倒转出的转出口(22),所述预置壳(2)朝向所述电子围栏本体(1)的两相对侧壁分别开设有穿孔组(23);

所述穿孔组(23)包括转动穿孔(231)和固定穿孔(232),所述电子围栏本体(1)倾倒转动中心位置开设有用于对接所述转动穿孔(231)的铰接螺孔(12),且所述电子围栏本体(1)的侧壁开设有用于对接所述固定穿孔(232)的固定螺孔(13),所述预置壳(2)上安装有对接所述转动穿孔(231)和铰接螺孔(12)的螺柱一(24)、对接所述固定穿孔(232)和固定螺孔(13)的螺柱二(25)。

2.根据权利要求1所述的一种脉冲电子围栏周界报警系统,其特征在于:所述电子围栏本体(1)朝向所述转出口(22)的侧壁沿所述电子围栏本体(1)的轴向开设有滑槽(14),所述电子围栏本体(1)上沿所述滑槽(14)滑移连接有罩壳(15);

所述电子围栏竖置安装时,所述罩壳(15)沿所述滑槽(14)滑移罩设在所述转出口(22)上。

3.根据权利要求2所述的一种脉冲电子围栏周界报警系统,其特征在于:所述罩壳(15)朝向所述电子围栏本体(1)的侧面固定有凸板(151),且所述罩壳(15)罩设在所述转出口(22)上时,所述凸板(151)抵贴所述电子围栏本体(1)的转出侧面。

4.根据权利要求1至3任一所述的一种脉冲电子围栏周界报警系统,其特征在于:若干所述电子围栏本体(1)顶面安装有监控摄像头(3)。

5.根据权利要求4所述的一种脉冲电子围栏周界报警系统,其特征在于:若干所述电子围栏本体(1)背离转出口(22)的侧面安装有若干压力传感器(4),所述电子围栏本体(1)上安装有控制报警器(41),且所述压力传感器(4)电线连接所述控制报警器(41)。

6.根据权利要求4所述的一种脉冲电子围栏周界报警系统,其特征在于:相邻所述电子围栏本体(1)的相对面开设有安装穿槽(16),所述电子围栏本体(1)位于所述安装穿槽(16)位置安装有张紧架(5),所述张紧架(5)上转动连接有张紧辊(51),且所述感应线缆(11)穿设在同一水平高度的若干安装穿槽(16)处并缠绕在所述张紧辊(51)上,所述张紧辊(51)的转动端同轴心固定有穿出所述张紧架(5)的旋调转杆(52),所述张紧架(5)上朝向所述张紧辊(51)设置有用于压紧所述张紧辊(51)的挤压部件。

7.根据权利要求6所述的一种脉冲电子围栏周界报警系统,其特征在于:所述张紧架(5)朝向所述张紧辊(51)的辊面开设有螺纹孔(53),所述挤压部件包括螺纹旋接在所述螺纹孔(53)上的压紧螺头(54),且所述压紧螺头(54)朝向所述张紧辊(51)的端面固定有挤压板(55)。

8.根据权利要求6所述的一种脉冲电子围栏周界报警系统,其特征在于:相邻两所述电子围栏本体(1)之间安装有防护网(6),且所述防护网(6)位于所述感应线缆(11)靠近所述转出口(22)的一侧。