欢迎来到知嘟嘟! 联系电话:13336804447 卖家免费入驻,海量在线求购! 卖家免费入驻,海量在线求购!
知嘟嘟
我要发布
联系电话:13336804447
知嘟嘟经纪人
收藏
专利号: 2020219261127
申请人: 南京安卓智能系统有限公司
专利类型:实用新型
专利状态:已下证
专利领域: 信号装置
更新日期:2024-12-18
缴费截止日期: 暂无
价格&联系人
年费信息
委托购买

摘要:

权利要求书:

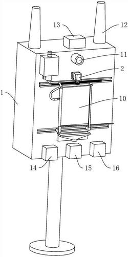
1.一种无线通信停车场监控装置,包括监控固定箱(1)以及设置在监控固定箱(1)上的停车位显示屏(10),其特征在于:还包括设置在监控固定箱(1)上的驱动电机(20)、设置在驱动电机(20)的电机轴上的转动轴(21)以及设置在转动轴(21)上的齿轮(22),所述监控固定箱(1)上滑移设有与齿轮(22)啮合的齿条(23),所述齿条(23)上设有用于清理停车位显示屏(10)的清理杆(24)。

2.根据权利要求1所述的一种无线通信停车场监控装置,其特征在于:所述齿条(23)上设有喷液杆(30),所述喷液杆(30)且靠近停车位显示屏(10)的一侧设有若干个喷头(31);

所述监控固定箱(1)上设有用于存储清理停车位显示屏(10)清理液的存液盒(32),所述监控固定箱(1)上设有微型泵(33),所述存液盒(32)和微型泵(33)之间通过管道连通设置,所述微型泵(33)的出口与喷液杆(30)之间设有输送软管(35)。

3.根据权利要求2所述的一种无线通信停车场监控装置,其特征在于:所述监控固定箱(1)上设有滑槽(17),所述滑槽(17)位于停车位显示屏(10)远离齿条(23)的一侧设置,所述喷液杆(30)和清理杆(24)上均设有在滑槽(17)内滑移的滑块(25)。

4.根据权利要求1所述的一种无线通信停车场监控装置,其特征在于:所述清理杆(24)靠近停车位显示屏(10)的一侧设有橡胶刮条(26),所述橡胶刮条(26)的厚度由靠近清理杆(24)的一侧向远离清理杆(24)的一侧递减。

5.根据权利要求4所述的一种无线通信停车场监控装置,其特征在于:所述清理杆(24)的侧壁上设有插槽(27),所述橡胶刮条(26)的侧壁上设有插入插槽(27)的橡胶插条(28)。

6.根据权利要求1所述的一种无线通信停车场监控装置,其特征在于:所述监控固定箱(1)上设有风机(40),所述风机(40)设置在停车位显示屏(10)远离齿条(23)的一侧,所述风机(40)的出风口设有喇叭口(42),所述喇叭口(42)开口朝向停车位显示屏(10)。

7.根据权利要求3所述的一种无线通信停车场监控装置,其特征在于:所述监控固定箱(1)上设有导流板(18),所述导流板(18)位于滑槽(17)和停车位显示屏(10)之间,所述导流板(18)远离停车位显示屏(10)的一侧向监控固定箱(1)的边缘一侧延伸,所述导流板(18)的高度由靠近停车位显示屏(10)的一侧向远离停车位显示屏(10)的一侧递减。

8.根据权利要求7所述的一种无线通信停车场监控装置,其特征在于:所述导流板(18)远离监控固定箱(1)的一侧设有承接板(19),所述承接板(19)与监控固定箱(1)之间的距离由靠近导流板(18)的一侧向远离导流板(18)的一侧递增。