欢迎来到知嘟嘟! 联系电话:13336804447 卖家免费入驻,海量在线求购! 卖家免费入驻,海量在线求购!
知嘟嘟
我要发布
联系电话:13336804447
知嘟嘟经纪人
收藏
专利号: 202021865058X
申请人: 苏州市豪仕科技有限公司
专利类型:实用新型
专利状态:已下证
专利领域: 计算;推算;计数
更新日期:2024-06-08
缴费截止日期: 暂无
价格&联系人
年费信息
委托购买

摘要:

权利要求书:

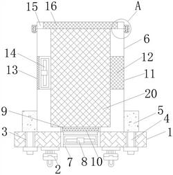
1.一种计算机用主机箱降温防尘装置,包括底座(1),其特征在于,所述底座(1)的底部固定连接有万向轮(2),所述底座(1)的底部开设有插槽(3),所述插槽(3)的内壁活动连接有插杆(4),所述底座(1)的顶部活动连接有防护罩(6),所述底座(1)的底部开设有通槽(7),所述通槽(7)的内壁固定连接有第一冷风机本体(8),所述防护罩(6)的底部开设有进风口(9);

所述防护罩(6)的一侧固定连接有筛网(13),所述防护罩(6)的一侧固定连接有第二冷风机本体(14),所述防护罩(6)的顶部活动连接有盖板(15),所述盖板(15)的一侧固定连接有固定块(17),所述底座(1)的正面固定连接有挡板(19),所述防护罩(6)的正面固定连接有网格(20)。

2.根据权利要求1所述的一种计算机用主机箱降温防尘装置,其特征在于,所述固定块(17)的顶部活动连接有调节螺杆(18),且调节螺杆螺纹连接有螺母。

3.根据权利要求1所述的一种计算机用主机箱降温防尘装置,其特征在于,所述防护罩(6)的一侧开设有固定槽,且防护罩(6)通过固定槽与第二冷风机本体(14)固定连接。

4.根据权利要求1所述的一种计算机用主机箱降温防尘装置,其特征在于,所述插杆(4)的一端固定连接有限位块(5),且插杆(4)的另一端活动连接有卡环。

5.根据权利要求1所述的一种计算机用主机箱降温防尘装置,其特征在于,所述进风口(9)的内壁固定连接有第一防尘网(10),且进风口(9)的形状大小与第一防尘网(10)的形状大小均相互匹配,且第一防尘网(10)为不锈钢防尘网。

6.根据权利要求1所述的一种计算机用主机箱降温防尘装置,其特征在于,所述防护罩(6)的一侧开设有出风口(11),所述出风口(11)的内壁固定连接有第二防尘网(12),且第二防尘网(12)为不锈钢防尘网。

7.根据权利要求1所述的一种计算机用主机箱降温防尘装置,其特征在于,所述盖板(15)的内壁固定连接有网罩(16),且网罩(16)为不锈钢网罩。

8.根据权利要求1所述的一种计算机用主机箱降温防尘装置,其特征在于,所述底座(1)的顶部与防护罩(6)的底部活动连接,且防护罩(6)为凹形防护罩。