欢迎来到知嘟嘟! 联系电话:13336804447 卖家免费入驻,海量在线求购! 卖家免费入驻,海量在线求购!
知嘟嘟
我要发布
联系电话:13336804447
知嘟嘟经纪人
收藏
专利号: 2020218528696
申请人: 钛辉制辊(苏州)有限公司
专利类型:实用新型
专利状态:已下证
专利领域: 机床;其他类目中不包括的金属加工
更新日期:2024-07-23
缴费截止日期: 暂无
价格&联系人
年费信息
委托购买

摘要:

权利要求书:

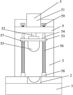
1.一种螺纹辊加工装置,其特征在于,包括机架、凹槽、固定柱、雕纹横梁和雕纹机构,所述机架上端面设置有凹槽,所述固定柱垂直设置在机架的一侧,所述固定柱朝向机架的一侧水平连接雕纹横梁,所述雕纹机构安装在雕纹横梁上,位于凹槽的正上方。

2.根据权利要求1所述的一种螺纹辊加工装置,其特征在于,所述凹槽呈U型。

3.根据权利要求1所述的一种螺纹辊加工装置,其特征在于,所述雕纹机构包括液压气缸、液压杆、滑动块、导向柱、螺纹刀头和复位弹簧,所述液压气缸垂直安装在雕纹横梁的上端面上,所述液压气缸底部通过液压杆连接滑动块,所述导向柱垂直设置在机架上,顶部连接雕纹横梁,所述滑动块活动嵌套在导向柱间,所述滑动块底部连接螺纹刀头,所述导向柱外包裹有复位弹簧。

4.根据权利要求3所述的一种螺纹辊加工装置,其特征在于,所述滑动块上下两端分别连接限位块,所述限位块套合在导向柱上,并与滑动块连接。

5.根据权利要求3所述的一种螺纹辊加工装置,其特征在于,所述导向柱底部连接缓冲垫。

6.根据权利要求3所述的一种螺纹辊加工装置,其特征在于,所述导向柱顶部通过固定螺栓连接雕纹横梁。

我要求购
我不想找了,帮我找吧
您有专利需要变现?
我要出售
智能匹配需求,快速出售