欢迎来到知嘟嘟! 联系电话:13336804447 卖家免费入驻,海量在线求购! 卖家免费入驻,海量在线求购!
知嘟嘟
我要发布
联系电话:13336804447
知嘟嘟经纪人
收藏
专利号: 2020218289695
申请人: 苏州科吉机电有限公司
专利类型:实用新型
专利状态:已下证
专利领域: 一般的物理或化学的方法或装置
更新日期:2024-05-23
缴费截止日期: 暂无
价格&联系人
年费信息
委托购买

摘要:

权利要求书:

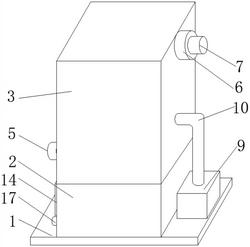
1.一种用于污染物分离的废气处理设备,包括底板(1),其特征在于:所述底板(1)的顶部固定安装有水箱(2),所述水箱(2)的顶部固定安装有处理箱(3),所述处理箱(3)的一侧底部固定安装有进气泵(4),所述进气泵(4)的一侧固定连接有进气管(5),所述处理箱(3)的一侧顶部固定安装有出气泵(6),所述出气泵(6)的一侧固定连接有出气管(7),所述水箱(2)的一侧固定安装有水泵(9),所述水泵(9)与水箱(2)之间固定连接有吸水管(8),所述水泵(9)的顶部固定连接有喷淋管(10),所述喷淋管(10)远离水泵(9)的一端贯穿处理箱(3)并固定连接有多个喷淋头(11),所述处理箱(3)的内部下表面固定安装有导流板(12),所述处理箱(3)的底部开设有循环口(13),所述循环口(13)的底部固定连接有固定架(23),所述固定架(23)的内部两侧均开设有滑槽(24),所述滑槽(24)的内部活动连接有滑块(25),所述滑块(25)的内侧固定连接有过滤箱(14),所述过滤箱(14)的底部固定安装有过滤网(15),所述水箱(2)的一侧固定安装有连接管(17),所述连接管(17)的外部固定安装有阀门(16),所述处理箱(3)的内部一侧固定安装有去异味装置(18),所述处理箱(3)的内部另一侧固定安装有净化装置(19),所述处理箱(3)的内部顶侧固定安装有过滤层(20),所述过滤层(20)的顶部固定安装有吸附层(21),所述吸附层(21)的顶部固定安装有分子筛(22)。

2.根据权利要求1所述的一种用于污染物分离的废气处理设备,其特征在于:所述去异味装置(18)为注入式低温等离子装置。

3.根据权利要求1所述的一种用于污染物分离的废气处理设备,其特征在于:所述净化装置(19)为UV光催化装置。

4.根据权利要求1所述的一种用于污染物分离的废气处理设备,其特征在于:多个所述喷淋头(11)呈等间距分布。

5.根据权利要求1所述的一种用于污染物分离的废气处理设备,其特征在于:所述滑槽(24)与滑块(25)表面贴合,所述滑槽(24)与滑块(25)均为T型。

6.根据权利要求1所述的一种用于污染物分离的废气处理设备,其特征在于:所述吸附层(21)和过滤网(15)均由活性炭过滤棉制成。

7.根据权利要求1所述的一种用于污染物分离的废气处理设备,其特征在于:所述过滤箱(14)的外侧设置有密封圈。