欢迎来到知嘟嘟! 联系电话:13336804447 卖家免费入驻,海量在线求购! 卖家免费入驻,海量在线求购!
知嘟嘟
我要发布
联系电话:13336804447
知嘟嘟经纪人
收藏
专利号: 2020218136967
申请人: 李金汇
专利类型:实用新型
专利状态:已下证
专利领域: 烟草;雪茄烟;纸烟;吸烟者用品
更新日期:2024-02-28
缴费截止日期: 暂无
价格&联系人
年费信息
委托购买

摘要:

权利要求书:

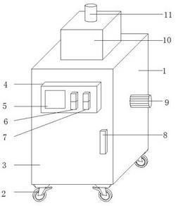
1.一种环保节能型烟草烤烟装置,其特征在于:包括箱体(1),所述箱体(1)下端表面四角通过螺丝固定设有万向轮(2),所述箱体(1)前端表面左侧通过螺丝合页固定设有箱门(3),所述箱门(3)前端表面上方通过螺丝固定设有控制箱(4),所述控制箱(4)前端表面从左至右镶嵌固定设有显示屏(5)、驱动开关(6)和净化开关(7),所述控制箱(4)下方右侧设有把手(8)并通过螺丝固定在箱门(3)上,所述箱体(1)右端表面通过螺丝固定设有电机(9),所述箱体(1)上端表面通过螺丝固定设有净化箱(10),所述净化箱(10)上端表面通过焊接固定设有排烟管(11),所述净化箱(10)内部通过螺丝固定设有过滤层(19),所述净化箱(10)顶部右侧通过螺丝固定设有空气传感器(20),所述箱体(1)内底部表面通过螺丝固定设有燃烧箱(12),所述燃烧箱(12)上方设有隔板(13)并通过螺丝固定在箱体(1)内,所述隔板(13)内壁通过螺丝固定设有过滤网(14),所述隔板(13)上方设有烤烟箱(15)并套装在箱体(1)内壁上,所述箱体(1)内顶部表面从左至右依次通过螺丝固定设有负离子发生器(17)、吸风扇(18)和臭氧发生器(16)。

2.根据权利要求1所述的一种环保节能型烟草烤烟装置,其特征在于:所述烤烟箱(15)由上箱和下箱组成并表面设有锁扣,烤烟箱(15)上下两端表面均开设有贯穿孔,左右两端设有一体浇筑设有旋转柱并通过轴承套装在箱体(1)内壁,所述电机(9)的转动轴焊接连接在烤烟箱(15)的右端旋转柱上。

3.根据权利要求1所述的一种环保节能型烟草烤烟装置,其特征在于:所述隔板(13)表面开设有贯穿矩形槽。

4.根据权利要求1所述的一种环保节能型烟草烤烟装置,其特征在于:所述净化箱(10)通过吸风扇(18)与箱体(1)相通。

5.根据权利要求1所述的一种环保节能型烟草烤烟装置,其特征在于:所述驱动开关(6)通过线缆连接在电机(9)上,所述净化开关(7)通过线缆连接在臭氧发生器(16)、吸风扇(18)、负离子发生器(17)、空气传感器(20)和显示屏(5)上。

6.根据权利要求1所述的一种环保节能型烟草烤烟装置,其特征在于:所述过滤层(19)为活性炭材质制成,所述过滤网(14)采用HEPA网。

7.根据权利要求1所述的一种环保节能型烟草烤烟装置,其特征在于:所述臭氧发生器(16)型号:FL‑803S,负离子发生器(17)型号:TFB‑Y128,所述空气传感器(20)型号:LBT2000。

8.根据权利要求1所述的一种环保节能型烟草烤烟装置,其特征在于:所述燃烧箱(12)上端表面均开设有贯穿孔。