欢迎来到知嘟嘟! 联系电话:13336804447 卖家免费入驻,海量在线求购! 卖家免费入驻,海量在线求购!
知嘟嘟
我要发布
联系电话:13336804447
知嘟嘟经纪人
收藏
专利号: 2020216733889
申请人: 魏琼
专利类型:实用新型
专利状态:已下证
专利领域: 医学或兽医学;卫生学
更新日期:2024-02-23
缴费截止日期: 暂无
价格&联系人
年费信息
委托购买

摘要:

权利要求书:

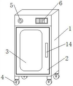
1.一种便于移动的酒店餐具消毒柜,包括消毒柜主体(1),其特征在于:所述消毒柜主体(1)的外表面设置有密封门(2),所述消毒柜主体(1)的底部安装有自锁轮(4),所述密封门(2)的安装有透明窗(3),所述透明窗(3)的一侧设置有门把手(14),所述消毒柜主体(1)的外表面上方设置有电源开关(5),所述电源开关(5)的一侧安装有指示灯(6),所述消毒柜主体(1)的内部上方安装有臭氧发生器(7),所述消毒柜主体(1)的内壁设置有紫外线灯(8),所述消毒柜主体(1)的内部中间设置有转动杆(10),所述转动杆(10)的两侧均安装有放置框(9),所述放置框(9)的一侧安装有挡板(13),所述转动杆(10)的底部设置有转盘(12),所述转盘(12)的底部连接有电机(15),所述消毒柜主体(1)的内部下方安装有吸水海绵(11)。

2.根据权利要求1所述的一种便于移动的酒店餐具消毒柜,其特征在于:所述密封门(2)通过合页与消毒柜主体(1)转动连接。

3.根据权利要求1所述的一种便于移动的酒店餐具消毒柜,其特征在于:所述放置框(9)与转动杆(10)拆卸连接。

4.根据权利要求1所述的一种便于移动的酒店餐具消毒柜,其特征在于:所述紫外线灯(8)设置有两个,且两个紫外线灯(8)沿消毒柜主体(1)的长度中心线镜像设置。

5.根据权利要求1所述的一种便于移动的酒店餐具消毒柜,其特征在于:所述放置框(9)设置有多个,且两个所述放置框(9)内有隔板。

6.根据权利要求1所述的一种便于移动的酒店餐具消毒柜,其特征在于:所述透明窗(3)采用玻璃制作而成。

7.根据权利要求1所述的一种便于移动的酒店餐具消毒柜,其特征在于:所述自锁轮(4)设置有四个,且四个自锁轮(4)呈“矩形阵列”状排布。