欢迎来到知嘟嘟! 联系电话:13336804447 卖家免费入驻,海量在线求购! 卖家免费入驻,海量在线求购!
知嘟嘟
我要发布
联系电话:13336804447
知嘟嘟经纪人
收藏
专利号: 2020216044119
申请人: 浙江天宏鞋业有限公司
专利类型:实用新型
专利状态:已下证
专利领域: 鞋类
更新日期:2023-08-24
缴费截止日期: 暂无
价格&联系人
年费信息
委托购买

摘要:

权利要求书:

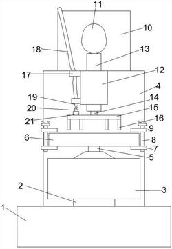
1.一种休闲鞋鞋帮打孔装置,包括底座(1),其特征在于:所述底座(1)顶部相互靠近两侧之间的前端固定连接有第一支撑柱(2),所述底座(1)顶部与第一支撑柱(2)位置相匹配的后端固定连接有第二支撑柱(4),所述第一支撑柱(2)的顶部螺纹连接有第一螺纹柱(5),所述第一螺纹柱(5)的顶部固定连接有固定板(6),所述固定板(6)的顶部均匀贯穿有多个贯穿孔(25),所述固定板(6)相互远离两侧的底部均固定连接有固定块(7),两个所述固定块(7)相互靠近的前后两端均螺纹连接有螺栓(8),两个所述螺栓(8)的上端均螺纹连接有活动块(9),所述第二支撑柱(4)的顶部固定连接有电机(10),所述电机(10)的输出端固定连接有凸轮(11),所述第二支撑柱(4)上端的前端固定连接有套管(12),所述套管(12)内壁相互远离的两侧均开设有滑槽(22),两个所述滑槽(22)的内壁均滑动连接有滑块(26),两个所述滑块(26)相互靠近的两端共同固定连接有活动柱(13),所述活动柱(13)的顶部与凸轮(11)的外壁触接,所述活动柱(13)的底部螺纹连接有第二螺纹柱(14),所述第二螺纹柱(14)的底部固定连接有升降板(15),所述升降板(15)的底部均匀固定连接有多个环刀(16)。

2.根据权利要求1所述的一种休闲鞋鞋帮打孔装置,其特征在于:两个所述滑槽(22)的顶部均固定连接有复位弹簧(23),两个所述复位弹簧(23)的底部分别与两个滑块(26)的顶部固定连接,两个所述滑槽(22)的底部均固定连接有缓冲弹簧(24)。

3.根据权利要求1所述的一种休闲鞋鞋帮打孔装置,其特征在于:所述第一支撑柱(2)上端的外壁固定连接有收集袋(3),所述收集袋(3)的内径尺寸大于固定板(6)的外径尺寸。

4.根据权利要求1所述的一种休闲鞋鞋帮打孔装置,其特征在于:多个所述贯穿孔(25)与多个环刀(16)的位置相匹配,多个所述贯穿孔(25)的内径尺寸分别与多个环刀(16)的外径尺寸相匹配。

5.根据权利要求1所述的一种休闲鞋鞋帮打孔装置,其特征在于:所述套管(12)一侧侧壁的顶部与底部均固定连接有限位块(17),两个所述限位块(17)的内壁套设连接有电线(18),所述电线(18)的底部固定连接有第一连接头(19),所述第一连接头(19)的底部活动电性连接有第二连接头(20),所述第二连接头(20)的底部活动连接有加热块(21),所述加热块(21)的底部与升降板(15)的顶部固定连接。

6.根据权利要求1所述的一种休闲鞋鞋帮打孔装置,其特征在于:所述活动柱(13)顶部与环刀(16)底部之间形成的高度距离与凸轮(11)底部与固定板(6)顶部之间形成的高度距离相匹配。

我要求购
我不想找了,帮我找吧
您有专利需要变现?
我要出售
智能匹配需求,快速出售