欢迎来到知嘟嘟! 联系电话:13336804447 卖家免费入驻,海量在线求购! 卖家免费入驻,海量在线求购!
知嘟嘟
我要发布
联系电话:13336804447
知嘟嘟经纪人
收藏
专利号: 2020215529964
申请人: 吉安集睿科技有限公司
专利类型:其他
专利状态:已下证
专利领域: 发电、变电或配电
更新日期:2023-09-24
缴费截止日期: 暂无
价格&联系人
年费信息
委托购买

摘要:

权利要求书:

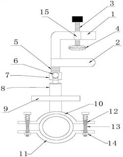
1.一种高压电缆迁改工程用电缆固定装置,包括:卡台(1),其为一个呈“L”型结构的卡合件;

固定平台(2),其和卡台(1)固定在一起,且和卡台(1)一起组成倒U型的卡合部;

其特征在于,所述卡台(1)的一端上开设一个螺纹孔(15),螺纹孔(15)贯穿所述卡台(1),在螺纹孔(15)中螺旋配合一根螺栓一(3),螺栓一(3)位于所述倒U型的卡合部的内部一端连接一个限位垫(4);所述固定平台(2)背向卡台(1)的一侧固定连接限位座(7),所述限位座(7)内设有一个钢球(6),所述钢球(6)在限位座(7)内可以万向转动,所述钢球(6)上连接一根万向杆(8),所述万向杆(8)连接电缆固定组件;

所述电缆固定组件包括第一固定板(10)、第二固定板(11)、螺栓二(13)、螺母二(14)和弹簧(12),所述第一固定板(10)的底部设置有第二固定板(11),所述第二固定板(11)与第一固定板(10)的两侧均开设有通孔,所述通孔的内腔贯穿有螺栓二(13),所述螺栓二(13)位于第二固定板(11)底部的表面螺纹连接有螺母二(14),所述螺栓二(13)表面的顶部套设有弹簧(12),所述弹簧(12)的底部与第一固定板(10)的顶部固定连接,其中,万向杆(8)固定在第一固定板(10)上。

2.根据权利要求1所述的一种高压电缆迁改工程用电缆固定装置,其特征在于,所述限位座(7)具有中空腔体的固定部,所述钢球(6)位于中空腔体的固定部内,所述限位座(7)上顶面设有圆孔,万向杆(8)的杆部从所述圆孔内穿出,所述万向杆(8)的球头部转动地连接在所述腔体内的钢球(6)上。

3.根据权利要求1所述的一种高压电缆迁改工程用电缆固定装置,其特征在于,所述限位垫(4)为圆形垫片。

4.根据权利要求1所述的一种高压电缆迁改工程用电缆固定装置,其特征在于,所述固定平台(2)和限位座(7)之间还通过一个缓冲块(5)过渡连接。

5.根据权利要求1所述的一种高压电缆迁改工程用电缆固定装置,其特征在于,所述电缆固定组件还包括一个平衡块(9),所述平衡块(9)一端和万向杆(8)固定连接,另一端和第一固定板(10)固定在一起。

6.根据权利要求1所述的一种高压电缆迁改工程用电缆固定装置,其特征在于,所述第一固定板(10)和第二固定板(11)均为半圆弧形板。