欢迎来到知嘟嘟! 联系电话:13095918853 卖家免费入驻,海量在线求购! 卖家免费入驻,海量在线求购!
知嘟嘟
我要发布
联系电话:13095918853
知嘟嘟经纪人
收藏
专利号: 2020215306379
申请人: 李京城
专利类型:实用新型
专利状态:已下证
专利领域: 供热;炉灶;通风
更新日期:2023-11-15
缴费截止日期: 暂无
价格&联系人
年费信息
委托购买

摘要:

权利要求书:

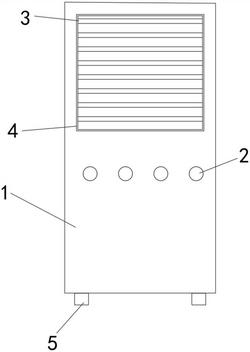
1.一种过滤精度可变的空调,包括空调本体(1)、出风口(4)和过滤装置(3),其特征在于,所述出风口(4)开设在空调本体(1)的上部的一侧,所述过滤装置(3)安装在出风口(4)的内部;

所述过滤装置(3)包括第一过滤网(31)和第二过滤网(32),所述第一过滤网(31)安装在和第二过滤网(32)的顶部;

所述第一过滤网(31)包括第一外框(311)、第一过滤板(312)、第一滤板调节阀(313)和第一滤板固定杆(314),所述第一过滤板(312)有多个,多个所述第一过滤板(312)等距安装在第一外框(311)的内部,所述第一滤板固定杆(314)安装在多个第一过滤板(312)的一侧,所述第一滤板调节阀(313)安装在第一外框(311)的外表面;

所述第二过滤网(32)包括第二外框(321)、第二过滤板(322)、第二过滤板调节阀(323)和第二滤板固定杆(324),所述第二过滤板(322)有多个,多个所述第二过滤板(322)等距安装在第二外框(321)的内部,所述第二滤板固定杆(324)安装在多个第二过滤板(322)的一侧,所述第二过滤板调节阀(323)安装在第二外框(321)的外表面。

2.根据权利要求1所述的一种过滤精度可变的空调,其特征在于,所述空调本体(1)的底部四角均固定安装有支撑腿(5),所述空调本体(1)的前侧固定有多个调整按钮(2)。

3.根据权利要求2所述的一种过滤精度可变的空调,其特征在于,所述支撑腿(5)的底部均设有耐磨垫。

4.根据权利要求1所述的一种过滤精度可变的空调,其特征在于,所述第一过滤板(312)和第二过滤板(322)的交叉角度为九十度。

5.根据权利要求1所述的一种过滤精度可变的空调,其特征在于,所述出风口(4)的内部固定在过滤装置(3)的外表面。

6.根据权利要求1所述的一种过滤精度可变的空调,其特征在于,所述第二过滤网(32)固定安装在第一过滤网(31)的底部。

7.根据权利要求1所述的一种过滤精度可变的空调,其特征在于,所述第一外框(311)活动安装在多个第一过滤板(312)的两侧,多个所述第一过滤板(312)的一侧与第一滤板固定杆(314)的一侧转动连接,所述第一外框(311)螺纹安装在第一滤板调节阀(313)的一侧。

8.根据权利要求1所述的一种过滤精度可变的空调,其特征在于,所述第二外框(321)活动安装在多个第二过滤板(322)的一侧,多个所述第二过滤板(322)的一侧与第二滤板固定杆(324)的一侧转动连接,所述第二外框(321)螺纹连接在第二过滤板调节阀(323)的一侧。

我要求购
我不想找了,帮我找吧
您有专利需要变现?
我要出售
智能匹配需求,快速出售