欢迎来到知嘟嘟! 联系电话:13336804447 卖家免费入驻,海量在线求购! 卖家免费入驻,海量在线求购!
知嘟嘟
我要发布
联系电话:13336804447
知嘟嘟经纪人
收藏
专利号: 2020215097693
申请人: 杭州烹然厨房科技有限公司
专利类型:实用新型
专利状态:已下证
专利领域: 供热;炉灶;通风
更新日期:2025-03-24
缴费截止日期: 暂无
价格&联系人
年费信息
委托购买

摘要:

权利要求书:

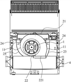
1.一种导流效果优良的集成灶风箱结构,包括由顶板(21)、底板(22)及四周侧板围成的风箱壳体,所述风箱壳体内部腔体中安装有风机蜗壳组件(1),其特征在于:在风箱壳体的四周侧板中至少左右两侧板的下半部分采用对烟气起导流作用、使烟气流体流畅平滑地从风箱壳体流出的弧形导流板(23)。

2.根据权利要求1所述的导流效果优良的集成灶风箱结构,其特征在于:所述左右两侧板的上半部分采用平直导流板(24),所述平直导流板(24)和弧形导流板(23)是采用钣金冲压一体成型制成左侧板或右侧板。

3.根据权利要求1所述的导流效果优良的集成灶风箱结构,其特征在于:底板(22)上开设有用于与风机蜗壳组件(1)的出风端对接的出风口(221)。

4.根据权利要求3所述的导流效果优良的集成灶风箱结构,其特征在于:所述风机蜗壳组件(1)以出风端端口朝下的姿态安装在风箱壳体中,左右两侧板下半部分的弧形导流板(23)分别与其邻近的风机蜗壳组件(1)的弧形蜗壳(11)之间形成弧形风道。