欢迎来到知嘟嘟! 联系电话:13336804447 卖家免费入驻,海量在线求购! 卖家免费入驻,海量在线求购!
知嘟嘟
我要发布
联系电话:13336804447
知嘟嘟经纪人
收藏
专利号: 2020214569856
申请人: 温州天纳福汽车轴承股份有限公司
专利类型:实用新型
专利状态:已下证
专利领域: 工程元件或部件;为产生和保持机器或设备的有效运行的一般措施;一般绝热
更新日期:2023-08-24
缴费截止日期: 暂无
价格&联系人
年费信息
委托购买

摘要:

权利要求书:

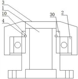
1.一种分离轴承,包括分离轴承座(1),其特征在于:所述分离轴承座(1)外套有深沟球轴承(2),所述深沟球轴承(2)外设置分离轴承套(3),所述分离轴承座(1)外表面设置有环槽(10)卡接有定位卡圈(4),所述分离轴承座(1)外表面设置凸座(5),所述深沟球轴承(2)的内圈表面设置凹口(20),所述凸座(5)内设置滑槽滑动连接有卡块(6)和弹簧(7),所述定位卡圈(4)端面设置凸起(40),所述卡块(6)下端卡头卡在定位卡圈(4)的凸起(40)处两端外表面。

2.根据权利要求1所述的一种分离轴承,其特征在于:所述卡块(6)的下端卡头外端设置倒圆角。

3.根据权利要求1所述的一种分离轴承,其特征在于:所述定位卡圈(4)的凸起(40)处内端表面设置倒圆角。

4.根据权利要求1所述的一种分离轴承,其特征在于:所述分离轴承套(3)内侧表面设置环腔(30)。

5.根据权利要求1所述的一种分离轴承,其特征在于:所述分离轴承座(1)下端设置安装座,安装座表面开设安装孔。