欢迎来到知嘟嘟! 联系电话:13336804447 卖家免费入驻,海量在线求购! 卖家免费入驻,海量在线求购!
知嘟嘟
我要发布
联系电话:13336804447
知嘟嘟经纪人
收藏
专利号: 2020214389919
申请人: 广东培正学院
专利类型:实用新型
专利状态:已下证
专利领域: 计算;推算;计数
更新日期:2024-08-21
缴费截止日期: 暂无
价格&联系人
年费信息
委托购买

摘要:

权利要求书:

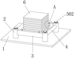
1.一种计算机CPU风扇安装结构,包括主板主体(1),其特征在于:所述主板主体(1)的上表面开设有四组圆孔(101),所述主板主体(1)的上表面还固定有处理器主体(102),所述处理器主体(102)位于四组圆孔(101)之间,所述圆孔(101)的顶部设有固定支架机构,所述固定支架机构的上方固定有散热风扇机构,所述散热风扇机构的底部与处理器主体(102)的上表面相抵。

2.根据权利要求1所述的一种计算机CPU风扇安装结构,其特征在于:所述固定支架机构包括固定柱(2),所述固定柱(2)的底部设有与圆孔(101)相对应的卡紧柱(202),所述卡紧柱(202)可插接在圆孔(101)内,所述固定柱(2)和卡紧柱(202)的中轴线处开设有通孔(201)。

3.根据权利要求2所述的一种计算机CPU风扇安装结构,其特征在于:所述通孔(201)内插接有锁紧杆(5),所述锁紧杆(5)上设有螺纹,且所述锁紧杆(5)与固定柱(2)螺纹连接,所述锁紧杆(5)的底部固定连接有卡紧头(501),所述锁紧杆(5)的顶部固定连接有转把(502)。

4.根据权利要求3所述的一种计算机CPU风扇安装结构,其特征在于:所述固定柱(2)的数量为四组,四组所述固定柱(2)的侧壁之间分别通过两组固定板(3)和两组连接柱(4)固定相连,两组所述固定板(3)和两组连接柱(4)分别对称分布,所述卡紧头(501)的形状为圆柱形棱台。

5.根据权利要求1所述的一种计算机CPU风扇安装结构,其特征在于:所述散热风扇机构包括散热器主体(6),所述散热器主体(6)的底部固定连接有四组卡块(601),四组所述卡块(601)分别两两对称分布在散热器主体(6)的两侧。

6.根据权利要求4所述的一种计算机CPU风扇安装结构,其特征在于:所述固定板(3)的侧壁开设有四组位置与卡块(601)相对应的卡槽(301),所述卡块(601)的顶部和卡槽(301)的底部均设有螺孔,所述卡块(601) 通过锁紧螺栓(7)固定在固定板(3)上。

7.根据权利要求5所述的一种计算机CPU风扇安装结构,其特征在于:所述散热器主体(6)的底部与处理器主体(102)的上表面相贴合且相抵。