欢迎来到知嘟嘟! 联系电话:13336804447 卖家免费入驻,海量在线求购! 卖家免费入驻,海量在线求购!
知嘟嘟
我要发布
联系电话:13336804447
知嘟嘟经纪人
收藏
专利号: 2020214302205
申请人: 禹城市必拓有机硅有限公司
专利类型:实用新型
专利状态:已下证
专利领域: 测量;测试
更新日期:2025-04-18
缴费截止日期: 暂无
价格&联系人
年费信息
委托购买

摘要:

权利要求书:

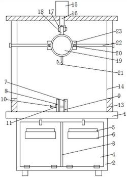
1.一种有机硅材料拉力测试装置,包括工作台(1)和测量计(19),其特征在于:所述工作台(1)的下端固定连接有箱体(2),所述箱体(2)的内部固定连接有隔板(3),所述箱体(2)的前侧左右两端通过合页分别转动连接有门体(4),所述门体(4)设有投放槽(5),所述门体(4)固定连接有挡板(6),所述工作台(1)的上端右侧固定连接有固定板(7),所述工作台(1)的上端左侧滑动连接有移动板(8),所述固定板(7)的左侧前后两端分别固定连接有连杆(10),所述连杆(10)的左侧通过螺纹转动连接有限位套(11),所述工作台(1)的上端固定连接有支撑架(13),所述支撑架(13)的左右两侧分别设有防脱槽(14),所述支撑架(13)的上端固定连接有气缸(15),所述测量计(19)的下端固定连接有挂钩(21),所述防脱槽(14)滑动连接有防脱杆(22)。

2.根据权利要求1所述的一种有机硅材料拉力测试装置,其特征在于:所述挡板(6)遮挡住投放槽(5)的下端,所述固定板(7)与移动板(8)的一侧分别固定连接有摩擦垫(9)。

3.根据权利要求1所述的一种有机硅材料拉力测试装置,其特征在于:所述连杆(10)分别滑动穿过移动板(8)的前后两侧,所述限位套(11)的上端固定连接有转销(12)。

4.根据权利要求1所述的一种有机硅材料拉力测试装置,其特征在于:所述气缸(15)的气缸杆(16)固定连接有卡套(17),所述卡套(17)通过螺栓固定卡接有卡块(18),所述卡块(18)的下端固定连接有测量计(19)。

5.根据权利要求1所述的一种有机硅材料拉力测试装置,其特征在于:所述测量计(19)的左右两侧分别固定连接有耳板(20),所述防脱杆(22)固定连接有安装块(23),所述安装块(23)与耳板(20)通过螺栓固定连接。