欢迎来到知嘟嘟! 联系电话:13336804447 卖家免费入驻,海量在线求购! 卖家免费入驻,海量在线求购!
知嘟嘟
我要发布
联系电话:13336804447
知嘟嘟经纪人
收藏
专利号: 2020212617821
申请人: 潘韶连
专利类型:实用新型
专利状态:已下证
专利领域: 一般门、窗、百叶窗或卷辊遮帘;梯子
更新日期:2025-05-13
缴费截止日期: 暂无
价格&联系人
年费信息
委托购买

摘要:

权利要求书:

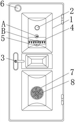
1.一种便于存放钥匙的家用门,包括家用门主体(1),其特征在于:所述家用门主体(1)的正面与安装块(13)的背面固定连接,所述安装块(13)的右侧面滑动连接有插销(11),所述插销(11)的外表面套接有复位弹簧(12),所述复位弹簧(12)的两端分别固定连接在安装块(13)的右侧面和插销(11)上,所述家用门主体(1)的正面开设有安装槽(4),所述安装槽(4)内壁的下表面铰接有存放板(5),所述存放板(5)的正面与存放钩(9)的背面固定连接,所述家用门主体(1)的正面与安装杆(17)背面的一端固定连接。

2.根据权利要求1所述的一种便于存放钥匙的家用门,其特征在于:所述安装杆(17)内插接有连接杆(16),所述安装杆(17)的左侧面螺纹连接有固定螺栓(18),所述连接杆(16)的左侧面开设有若干个调节孔(19)。

3.根据权利要求1所述的一种便于存放钥匙的家用门,其特征在于:所述家用门主体(1)的正面卡接有风扇(7),所述风扇(7)内壁的前方和后方均卡接有过滤网(8)。

4.根据权利要求1所述的一种便于存放钥匙的家用门,其特征在于:所述插销(11)在安装块(13)内部的一端为斜坡状。

5.根据权利要求1所述的一种便于存放钥匙的家用门,其特征在于:所述家用门主体(1)的正面卡接有猫眼(2),所述家用门主体(1)的正面和背面均设置有门把手(3)。

6.根据权利要求2所述的一种便于存放钥匙的家用门,其特征在于:所述安装杆(17)正面的一端固定连接有缓冲弹簧(15),所述缓冲弹簧(15)远离安装杆(17)的一端固定连接在缓冲杆(14)上,所述连接杆(16)滑动连接在缓冲杆(14)内,所述缓冲杆(14)正面的一端与橡胶垫(6)的背面固定连接。