欢迎来到知嘟嘟! 联系电话:13336804447 卖家免费入驻,海量在线求购! 卖家免费入驻,海量在线求购!
知嘟嘟
我要发布
联系电话:13336804447
知嘟嘟经纪人
收藏
专利号: 2020211779640
申请人: 宁波职业技术学院
专利类型:实用新型
专利状态:已下证
专利领域: 机床;其他类目中不包括的金属加工
更新日期:2023-08-24
缴费截止日期: 暂无
价格&联系人
年费信息
委托购买

摘要:

权利要求书:

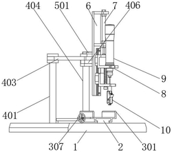
1.一种拖拽式自动螺丝机,包括底座(1)、固定机构(3)、拖拽机构(4)、副轴(404)、连接架(407)和限定机构(5),其特征在于:所述底座(1)上设置有Y轴控制台(2),所述Y轴控制台(2)上设置有固定机构(3),所述底座(1)上设置有拖拽机构(4),所述拖拽机构(4)上设置有限定机构(5),所述拖拽机构(4)上安装有固定架(6),所述固定架(6)上安装有电动推杆(7),所述电动推杆(7)的一端固定有固定件(8),所述固定件(8)活动连接在所述固定架(6)上,所述固定件(8)上安装有电批(9),所述电批(9)的一端安装有吸嘴(10)。

2.根据权利要求1所述的一种拖拽式自动螺丝机,其特征在于:所述固定机构(3)包括安装架(301)、螺纹孔(302)、卡槽(303)、夹块(304)、凸块(305)、通孔(306)、转把(307)、螺纹杆(308)和限位环(309),所述Y轴控制台(2)上活动安装有所述安装架(301),所述安装架(301)的一端中间位置内部开设有螺纹孔(302),所述安装架(301)的一端中间位置开设有卡槽(303),所述安装架(301)上活动安装有夹块(304),所述夹块(304)的一侧中间位置设置有凸块(305),所述凸块(305)的中心位置开设有通孔(306),所述凸块(305)安装在所述卡槽(303)内,所述夹块(304)上活动安装有转把(307),所述转把(307)的一侧固定有螺纹杆(308),所述螺纹杆(308)贯穿所述通孔(306)连接在所述螺纹孔(302)的内部,所述螺纹杆(308)上固定有两组限位环(309),两组所述限位环(309)设置在所述凸块(305)的两侧。

3.根据权利要求2所述的一种拖拽式自动螺丝机,其特征在于:所述夹块(304)和所述凸块(305)之间为一体式结构,所述凸块(305)的截面尺寸和所述卡槽(303)的截面尺寸相同,所述夹块(304)和所述安装架(301)之间构成滑动结构。

4.根据权利要求2所述的一种拖拽式自动螺丝机,其特征在于:所述转把(307)、所述螺纹杆(308)和所述限位环(309)之间为一体式结构,所述限位环(309)设置有两组,两组所述限位环(309)之间的最短距离和所述凸块(305)的宽度相同,所述限位环(309)的截面尺寸大于所述通孔(306)的截面尺寸,所述螺纹杆(308)通过所述通孔(306)和所述凸块(305)之间构成旋转结构。

5.根据权利要求1所述的一种拖拽式自动螺丝机,其特征在于:所述拖拽机构(4)包括主轴(401)、第一连接槽(402)、第一连接件(403)、副轴(404)、第二连接槽(405)、第二连接件(406)和连接架(407),所述底座(1)上垂直固定有主轴(401),所述主轴(401)远离所述底座(1)的一端开设有第一连接槽(402),所述主轴(401)上活动安装有第一连接件(403),所述第一连接件(403)远离所述主轴(401)的一端安装有副轴(404),所述副轴(404)远离所述底座(1)的一端开设有第二连接槽(405),所述第二连接槽(405)的内部安装有所述第一连接件(403)和第二连接件(406),所述第二连接件(406)远离所述副轴(404)的一端安装固定有连接架(407),所述连接架(407)上通过螺栓安装有固定架(6)。

6.根据权利要求5所述的一种拖拽式自动螺丝机,其特征在于:所述主轴(401)通过所述第一连接件(403)和所述副轴(404)之间构成旋转结构,所述第一连接件(403)的长度为所述第二连接件(406)长度的三倍,所述副轴(404)通过所述第二连接件(406)和所述连接架(407)之间构成旋转结构。

7.根据权利要求1或5所述的一种拖拽式自动螺丝机,其特征在于:所述限定机构(5)包括限位件(501)、第一限位块(502)、第二限位块(503)、第一限位槽(504)、第二限位槽(505)和限位滑槽(506),所述限位件(501)的两端分别设置有第一限位块(502)和第二限位块(503),所述副轴(404)的顶端开设有第一限位槽(504),所述连接架(407)的顶端开设有第二限位槽(505),所述第一限位块(502)和所述第二限位块(503)分别对应安装在所述第一限位槽(504)和所述第二限位槽(505)的内部,所述底座(1)的上表面对称开设有两组限位滑槽(506),所述限位滑槽(506)的内部安装有所述副轴(404)的底端。

8.根据权利要求7所述的一种拖拽式自动螺丝机,其特征在于:所述限位件(501)、所述第一限位块(502)和所述第二限位块(503)之间为一体式结构,所述第一限位块(502)和所述第二限位块(503)的形状大小相同,所述第一限位块(502)外侧等角度设置有多组齿块。

9.根据权利要求7所述的一种拖拽式自动螺丝机,其特征在于:所述限位件(501)与所述副轴(404)和所述连接架(407)之间构成可拆卸结构,所述副轴(404)和所述连接架(407)的顶端开设的所述第一限位槽(504)和所述第二限位槽(505)形状大小相同,所述第一限位槽(504)的内部尺寸和所述第一限位块(502)的外部尺寸相同。

10.根据权利要求7所述的一种拖拽式自动螺丝机,其特征在于:所述限位滑槽(506)为弧形结构,所述限位滑槽(506)的宽度和所述副轴(404)的底端直径相同,所述限位滑槽(506)和所述副轴(404)之间为过盈配合,所述限位滑槽(506)的深度为所述底座(1)高度的三分之一。