欢迎来到知嘟嘟! 联系电话:13336804447 卖家免费入驻,海量在线求购! 卖家免费入驻,海量在线求购!
知嘟嘟
我要发布
联系电话:13336804447
知嘟嘟经纪人
收藏
专利号: 2020211684867
申请人: 无锡华感科技有限公司
专利类型:实用新型
专利状态:已下证
专利领域: 测量;测试
更新日期:2024-12-23
缴费截止日期: 暂无
价格&联系人
年费信息
委托购买

摘要:

权利要求书:

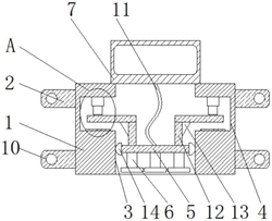
1.一种精确的压力传感器,包括箱体(1),其特征在于:所述箱体(1)两侧壁上下两侧对称固定连接有固定块(2),所述固定块(2)上下两侧壁中心位置之间开设有第一凹槽(3),所述第一凹槽(3)上方两侧壁对称开设有第二凹槽(4),下方所述第一凹槽(3)内水平设置有安装座(5),所述安装座(5)底壁呈水平等距离设置有三个压力传感探头(6),所述箱体(1)顶壁位于第一凹槽(3)开口处固定安装有计算机(7),两个所述第二凹槽(4)上侧壁中心位置固定安装有气缸(9),两个所述气缸(9)下方设置有安装板(8),两个所述安装板(8)相向一侧底壁与下方安装座(5)顶壁之间固定连接有连接板(12),所述固定块(2)远离箱体(1)一侧前后两侧壁中间位置之间开设有安装孔(10)。

2.根据权利要求1所述的一种精确的压力传感器,其特征在于:所述气缸(9)下方中心位置输出端固定连接有活动轴(15),所述活动轴(15)底壁固定连接有其对应一侧安装板(8)顶壁。

3.根据权利要求1所述的一种精确的压力传感器,其特征在于:所述安装座(5)顶壁中心位置数据输出端通过传输线(11)连接有计算机(7)下方的数据输入端。

4.根据权利要求1所述的一种精确的压力传感器,其特征在于:两个所述连接板(12)相离一侧侧壁上方固定连接有加固块(13),两个所述加固块(13)呈三棱形且顶壁固定连接有其对应一侧的安装板(8)底壁。

5.根据权利要求1所述的一种精确的压力传感器,其特征在于:两个所述第二凹槽(4)下侧壁中心位置固定连接有缓冲垫(16),所述缓冲垫(16)为橡胶材质。

6.根据权利要求1所述的一种精确的压力传感器,其特征在于:所述安装座(5)两侧壁对称固定连接有导向滑块(14),两个所述导向滑块(14)相离一侧侧壁滑动连接有第一凹槽(3)对应一侧侧壁。