欢迎来到知嘟嘟! 联系电话:13336804447 卖家免费入驻,海量在线求购! 卖家免费入驻,海量在线求购!
知嘟嘟
我要发布
联系电话:13336804447
知嘟嘟经纪人
收藏
专利号: 2020211597479
申请人: 廖学荣
专利类型:实用新型
专利状态:已下证
专利领域: 铁路
更新日期:2024-02-26
缴费截止日期: 暂无
价格&联系人
年费信息
委托购买

摘要:

权利要求书:

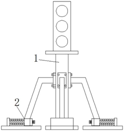
1.一种铁路信号机的辅助固定装置,包括铁路信号机本体(1),其特征在于:所述铁路信号机本体(1)的机柱外壁四周均安装有固定机构(2),所述固定机构(2)包括连接杆(201)、固定板(202)、侧板(203)、限位柱(204)、弹簧(205)、固定底座(206)、外螺纹(207)、缓冲板(208)、限位板(209)、第一固定孔(210)、通孔(211)、螺纹孔(212)和第二固定孔(213),所述固定底座(206)的上表面一侧安装有侧板(203),所述侧板(203)的一侧外壁安装有限位柱(204),所述限位柱(204)的另一端穿过通孔(211)与限位板(209)连接,所述缓冲板(208)的顶部安装有连接杆(201),所述连接杆(201)的另一端安装有固定板(202),所述限位柱(204)的外壁外侧套设有弹簧(205),且弹簧(205)位于侧板(203)与缓冲板(208)之间,所述固定机构(2)上的固定板(202)通过紧固螺栓与铁路信号机本体(1)的机柱外壁固定连接。

2.根据权利要求1所述的一种铁路信号机的辅助固定装置,其特征在于:所述限位柱(204)的另一端外壁上设置有外螺纹(207),所述限位板(209)的外壁中心位置开设有螺纹孔(212),所述限位柱(204)外壁上的外螺纹(207)与螺纹孔(212)孔壁上的内螺纹螺纹啮合连接。

3.根据权利要求1所述的一种铁路信号机的辅助固定装置,其特征在于:所述通孔(211)开设在缓冲板(208)的端壁中心位置。

4.根据权利要求1所述的一种铁路信号机的辅助固定装置,其特征在于:所述限位柱(204)的外壁与通孔(211)的孔壁间隙连接。

5.根据权利要求1所述的一种铁路信号机的辅助固定装置,其特征在于:所述固定底座(206)的表面两侧均开设有第二固定孔(213)。

6.根据权利要求1所述的一种铁路信号机的辅助固定装置,其特征在于:所述固定板(202)的外壁上方和下方均开设有第一固定孔(210)。