欢迎来到知嘟嘟! 联系电话:13336804447 卖家免费入驻,海量在线求购! 卖家免费入驻,海量在线求购!
知嘟嘟
我要发布
联系电话:13336804447
知嘟嘟经纪人
收藏
专利号: 2020211395316
申请人: 王黎
专利类型:实用新型
专利状态:已下证
专利领域: 一般的物理或化学的方法或装置
更新日期:2024-02-23
缴费截止日期: 暂无
价格&联系人
年费信息
委托购买

摘要:

权利要求书:

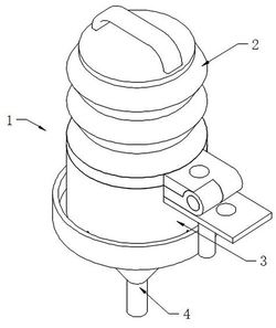
1.一种食品加工用卤水分离过滤装置,包括卤水分离结构(1),其特征在于:所述卤水分离结构(1)包括压气主体(2)、分离容器(3)和排水主体(4),所述压气主体(2)的下端密封支撑在分离容器(3)的上端,所述压气主体(2)的侧部转动安装在分离容器(3)的上部侧端,所述排水主体(4)卡接固定安装在分离容器(3)的下端,所述压气主体(2)、分离容器(3)和排水主体(4)的内部空间贯通相连。

2.根据权利要求1所述的一种食品加工用卤水分离过滤装置,其特征在于:所述压气主体(2)包括盖板(6)、波纹气囊(7)、第一连接块(8)、第一磁铁(9)和第一固定环(10),所述盖板(6)固定连接在波纹气囊(7)的上端,所述波纹气囊(7)的下端固定连接在第一固定环(10)的上端,所述第一连接块(8)的前端固定连接在第一固定环(10)的后端,所述第一磁铁(9)固定嵌接在第一连接块(8)的上端,所述压气主体(2)通过第一连接块(8)与分离容器(3)转动安装在一起,所述压气主体(2)通过第一固定环(10)密封支撑在分离容器(3)的上端。

3.根据权利要求1所述的一种食品加工用卤水分离过滤装置,其特征在于:所述分离容器(3)包括食料桶(11)、卡槽(12)、第二连接块(13)、第二磁铁(14)、支撑板(15)和伸缩缝(17),所述卡槽(12)开设在食料桶(11)的下端内壁,所述第二连接块(13)的前端固定连接在食料桶(11)的上部后端,所述第二磁铁(14)固定嵌接安装在支撑板(15)的上端,所述支撑板(15)与第二连接块(13)固定连接在一起,所述分离容器(3)通过第二连接块(13)与压气主体(2)转动安装在一起,所述分离容器(3)通过食料桶(11)与压气主体(2)密封支撑在一起,所述伸缩缝(17)均匀开设在食料桶(11)的下端。

4.根据权利要求1所述的一种食品加工用卤水分离过滤装置,其特征在于:所述排水主体(4)包括挡罩(18)、纱布(19)、第二固定环(20)、卡环(21)、下水口(22)和漏斗(23),所述挡罩(18)固定套接安装在漏斗(23)的上端,所述纱布(19)包裹在第二固定环(20)和卡环(21)的上部外壁,所述第二固定环(20)的下端固定连接在漏斗(23)的上端,所述卡环(21)固定连接在第二固定环(20)的上端,所述下水口(22)均匀镂空开设在第二固定环(20)的下部侧端,所述排水主体(4)通过第二固定环(20)和卡环(21)塞接在分离容器(3)的下端,所述纱布(19)通过分离容器(3)和排水主体(4)夹紧固定。

5.根据权利要求2所述的一种食品加工用卤水分离过滤装置,其特征在于:所述压气主体(2)还包括第一把手(5),所述第一把手(5)的下端固定连接在盖板(6)的上端。

6.根据权利要求3所述的一种食品加工用卤水分离过滤装置,其特征在于:所述分离容器(3)还包括第二把手(16),所述第二把手(16)的上端固定连接在第二连接块(13)的下端。