欢迎来到知嘟嘟! 联系电话:13336804447 卖家免费入驻,海量在线求购! 卖家免费入驻,海量在线求购!
知嘟嘟
我要发布
联系电话:13336804447
知嘟嘟经纪人
收藏
专利号: 2020211163304
申请人: 扬州实略信息科技有限公司
专利类型:实用新型
专利状态:已下证
专利领域: 机床;其他类目中不包括的金属加工
更新日期:2024-05-08
缴费截止日期: 暂无
价格&联系人
年费信息
委托购买

摘要:

权利要求书:

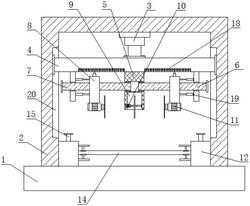
1.一种同步多刀长度可调的钢管切割机构,包括底座(1),其特征在于,所述底座(1)的顶部固定连接有固定架(2),所述固定架(2)的顶部内壁上固定连接有顶部气缸(3),所述顶部气缸(3)的输出轴上固定连接有滑动板(4),所述滑动板(4)的底部固定连接有固定板(5),所述滑动板(4)的底部对称固定连接有两个竖板(6),每个所述竖板中心均开设有螺纹孔,且在各自的螺纹孔中分别贯穿一根丝杆,所述固定板朝向两侧的丝杆分别设置有轴承,所述丝杆的一端固定在轴承中心,另一端穿过竖板,且设置有旋钮;

所述竖板与固定板之间设置有移动板,所述移动板的上方设置有滑块,滑块置于滑动板的下表面的滑轨中,

所述固定板(5)的底部开设有安装槽(9),所述安装槽(9)的一侧内壁上固定连接有第一切割电机(10),所述第一切割电机(10)的输出轴上固定套设有第一切割刀,两个移动板(8)的底部均固定连接有第二切割电机(11),两个第二切割电机(11)的输出轴均驱动连接第二切割刀;

所述底座(1)表面对称固定两个固定座(12),两个固定座(12)内形成固定腔室(13),两个固定腔室(13)均设有夹持组件,两个夹持组件上夹持有同一个钢管主体(14)。

2.根据权利要求1所述的一种同步多刀长度可调的钢管切割机构,其特征在于,所述夹持组件包括转动连接在固定腔室(13)底部内壁上的螺纹轴(15),固定腔室底部内部设置有轴承,螺纹轴的底部贯穿在该轴承中,所述螺纹轴(15)的顶端延伸至固定座(12)的顶部上方并固定连接有把手,所述螺纹轴(15)贯穿螺纹板(16),且与螺纹板(16)螺纹连接,两个固定座(12)相互靠近的一侧均固定连接有支撑板,所述螺纹板(16)的一侧延伸至固定座(12)外部,所述螺纹板(16)与支撑板的相互靠近的一侧均固定连接有弧形夹板(17),两个弧形夹板(17)相互靠近的一侧分别与钢管主体(14)的顶部和底部紧密贴合。

3.根据权利要求1所述的一种同步多刀长度可调的钢管切割机构,其特征在于,两个所述竖板(6)相互靠近的一侧均对称固定连接有两个伸缩杆(19),四个伸缩杆(19)相互靠近的一端分别与两个移动板(8)相互远离的一侧固定连接。

4.根据权利要求1所述的一种同步多刀长度可调的钢管切割机构,其特征在于,所述固定架(2)的两侧内壁上均开设有滑槽(20),所述滑动板(4)的两侧分别延伸至对应的滑槽(20)内。

5.根据权利要求1所述的一种同步多刀长度可调的钢管切割机构,其特征在于,所述滑动板(4)上对称设置有两个刻度尺(18),两个移动板(8)的顶部均固定连接有指针。

6.根据权利要求1所述的一种同步多刀长度可调的钢管切割机构,其特征在于,所述固定架的一组水平向对面为敞口,该敞口所在面与钢管的移动方向平行。