欢迎来到知嘟嘟! 联系电话:13336804447 卖家免费入驻,海量在线求购! 卖家免费入驻,海量在线求购!
知嘟嘟
我要发布
联系电话:13336804447
知嘟嘟经纪人
收藏
专利号: 2020209424378
申请人: 泉州旭日物流有限公司
专利类型:实用新型
专利状态:已下证
专利领域: 信号装置
更新日期:2024-03-14
缴费截止日期: 暂无
价格&联系人
年费信息
委托购买

摘要:

权利要求书:

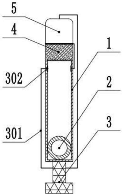
1.一种倾斜倾倒提醒器,其特征在于:包括圆筒外壳、空心铁球、蜂鸣器、小型电磁铁和电池,所述蜂鸣器和小型电磁铁分别固定连接在圆筒外壳的上下两端,所述小型电磁铁与电池电连接且位于电磁铁的上方,所述圆筒外壳的内侧固定连接有两片左右对称设置的电路连接片,所述电路连接片位于靠近小型电磁铁的一侧,所述蜂鸣器的其中一根导线与电池的负极电连接,所述蜂鸣器的另一根导线分为两段,其中一段导线与连接其中一片电路连接片连接,且另一段分别连接另一片电路连接片和电池的正极,所述空心铁球位于圆筒外壳内侧,且所述空心铁球存在位于圆筒外壳内侧底部和位于圆筒外壳内侧顶部两种状态,当圆筒外壳与水平面夹角为45°—90°时,所述空心铁球位于圆筒外壳内侧底部,当圆筒外壳与水平面夹角小于45°时,所述空心铁球位于圆筒外壳内侧顶部,所述圆筒外壳上固定连接有绑带。

2.根据权利要求1所述的倾斜倾倒提醒器,其特征在于:所述电磁铁串联有光敏元件,所述圆筒外壳上固定连接有吸盘。