欢迎来到知嘟嘟! 联系电话:13336804447 卖家免费入驻,海量在线求购! 卖家免费入驻,海量在线求购!
知嘟嘟
我要发布
联系电话:13336804447
知嘟嘟经纪人
收藏
专利号: 2020209145863
申请人: 江苏越峰新材料有限公司
专利类型:实用新型
专利状态:已下证
专利领域: 清洁
更新日期:2025-03-25
缴费截止日期: 暂无
价格&联系人
年费信息
委托购买

摘要:

权利要求书:

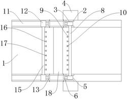
1.一种玻璃质量检测用预清洁装置,其特征在于:包括废水收集箱(1)、安装架一(5)和滑道(11),所述废水收集箱(1)上中部设置有排水口(18),所述废水收集箱(1)一侧设置有电机(4),所述废水收集箱(1)上方两侧设置有安装块(2),所述安装块(2)一侧设置有转轴(3),所述转轴(3)上设置有所述安装架一(5),所述安装架一(5)侧壁上设置有吸盘一(6),所述安装架一(5)中部设置有电动推杆一(7),所述电动推杆一(7)上方设置有活动架一(8),所述活动架一(8)上设置有喷水口一(9),所述喷水口一(9)上方设置有烘干口一(10),所述安装块(2)另一侧设置有所述滑道(11),所述滑道(11)上设置有安装架二(12),所述安装架二(12)侧壁上设置有吸盘二(13),所述安装架二(12)中部设置有电动推杆二(14),所述电动推杆二(14)上方设置有活动架二(15),所述活动架二(15)上设置有喷水口二(16),所述喷水口二(16)上方设置有烘干口二(17)。

2.根据权利要求1所述的一种玻璃质量检测用预清洁装置,其特征在于:所述电机(4)输出端与所述转轴(3)键连接,所述转轴(3)与所述安装架一(5)焊接。

3.根据权利要求1所述的一种玻璃质量检测用预清洁装置,其特征在于:所述喷水口一(9)与所述活动架一(8)管箍连接,所述烘干口一(10)与所述活动架一(8)管箍连接。

4.根据权利要求1所述的一种玻璃质量检测用预清洁装置,其特征在于:所述喷水口二(16)与所述活动架二(15)管箍连接,所述烘干口二(17)与所述活动架二(15)管箍连接。

5.根据权利要求1所述的一种玻璃质量检测用预清洁装置,其特征在于:所述滑道(11)与所述废水收集箱(1)螺钉连接,所述活动架二(15)与所述滑道(11)滑动连接。

6.根据权利要求1所述的一种玻璃质量检测用预清洁装置,其特征在于:所述吸盘一(6)与所述安装架一(5)螺钉连接,所述吸盘二(13)与所述安装架二(12)螺钉连接。

我要求购
我不想找了,帮我找吧
您有专利需要变现?
我要出售
智能匹配需求,快速出售