欢迎来到知嘟嘟! 联系电话:13336804447 卖家免费入驻,海量在线求购! 卖家免费入驻,海量在线求购!
知嘟嘟
我要发布
联系电话:13336804447
知嘟嘟经纪人
收藏
专利号: 2020208570610
申请人: 浙江胡庆余堂本草药物有限公司
专利类型:实用新型
专利状态:已下证
专利领域: 将固体从固体中分离;分选
更新日期:2023-11-30
缴费截止日期: 暂无
价格&联系人
年费信息
委托购买

摘要:

权利要求书:

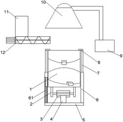
1.加工中草药的旋转式筛药机,包括底座和多级筛分药筛桶,其特征在于:还包括设置在多级筛分药筛桶底下的凸轮以及驱动凸轮转动的双向同步电机,所述双向同步电机通过支撑架固定安装在底座上,所述底座固设有位于多级筛分药筛桶旁边的空心柱,所述空心柱可滑动套接着升降杆,升降杆下端连有固定在底座上的弹簧,升降杆上端固定连有扣压件,所述扣压件压着多级筛分药筛桶的边缘,使多级筛分药筛桶底部始终贴着凸轮做上下运动。

2.根据权利要求1所述的加工中草药的旋转式筛药机,其特征在于:

所述多级筛分药筛桶上至少设有二层筛网,位于上侧的筛网过滤孔的孔径比位于下侧的筛网过滤孔的孔径大;

每套筛网倾斜设置,并在最低位置各设有出料口,各个出料口从上往下看彼此错开。

3.根据权利要求1所述的加工中草药的旋转式筛药机,其特征在于:还包括一组由电机带动的绞龙,在绞龙的加料口处设有制粉机,绞龙的卸料口位于所述多级筛分药筛桶的上方,使得绞龙能够将制粉机制得的药粉输送到多级筛分药筛桶内。

4.根据权利要求3所述的加工中草药的旋转式筛药机,其特征在于:还包括罩子,罩子设在绞龙卸料口的上方且正对多级筛分药筛桶的桶口,所述罩子通过连接管连有引风机。