欢迎来到知嘟嘟! 联系电话:13336804447 卖家免费入驻,海量在线求购! 卖家免费入驻,海量在线求购!
知嘟嘟
我要发布
联系电话:13336804447
知嘟嘟经纪人
收藏
专利号: 2020208466852
申请人: 湖州职业技术学院
专利类型:实用新型
专利状态:已下证
专利领域: 农业;林业;畜牧业;狩猎;诱捕;捕鱼
更新日期:2023-08-24
缴费截止日期: 暂无
价格&联系人
年费信息
委托购买

摘要:

权利要求书:

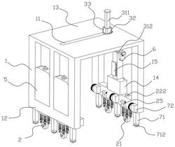
1.一种三维坐标采茶机器人,其特征在于:包括主平台(1)、行走机构(2)、三维移动机构(3)、采摘机构(4)以及收集罐(5);所述行走机构(2)包括位于所述主平台(1)两侧下端的行走轮(21);所述主平台(1)上端设有轨道(11),所述三维移动机构(3)包括沿所述轨道(11)移动的支架(31),所述支架(31)包括立柱(311)和横杆(312),所述立柱(311)上设有沿所述轨道(11)移动的滚筒(32),以及驱动所述支架(31)相对所述滚筒(32)上下移动的纵向调整电机(33),所述横杆(312)上设有采摘吊架(6),所述采摘吊架(6)可沿所述横杆(312)移动,所述采摘吊架(6)上设有采摘机构(4);所述收集罐(5)位于所述主平台(1)上,所述采摘机构(4)与所述收集罐(5)连接。2.根据权利要求1所述的一种三维坐标采茶机器人,其特征在于:所述行走机构(2)包括行走支架(22)和缓冲杆(23),所述行走支架(22)包括柱体(221),所述缓冲杆(23)插入所述柱体(221)内,所述缓冲杆(23)与所述行走支架(22)之间设有弹簧(24),所述行走轮(21)设置在所述缓冲杆(23)下端。3.根据权利要求2所述的一种三维坐标采茶机器人,其特征在于:所述行走支架(22)包括可相对所述主平台(1)转动的转轴(222),所述转轴(222)上设有第一齿槽(2221),所述主平台(1)上设有转向角度调节电机(25),所述转向角度调节电机(25)的输出轴上设有与所述第一齿槽(2221)啮合的齿轮。4.根据权利要求1所述的一种三维坐标采茶机器人,其特征在于:所述主平台(1)包括底梁(12),所述底梁(12)上设有调位柱脚(71),所述调位柱脚(71)插入所述底梁(12)并可相对所述主平台(1)上下移动,所述调位柱脚(71)上设有第二齿槽(711),所述主平台(1)上设有高度调整电机(72),所述高度调整电机(72)的输出轴上设有与所述第二齿槽(711)啮合的齿轮。5.根据权利要求4所述的一种三维坐标采茶机器人,其特征在于:所述调位柱脚(71)下端设有锥形地脚(712),所述调位柱脚(71)与所述锥形地脚(712)之间设有压力传感垫片。6.根据权利要求1所述的一种三维坐标采茶机器人,其特征在于:所述主平台(1)包括顶板(13),所述顶板(13)上设有摄像头(131)。7.根据权利要求1所述的一种三维坐标采茶机器人,其特征在于:所述主平台(1)包括顶板(13),所述顶板(13)上设有水平位置传感器(132),所述水平位置传感器(132)设置在所述轨道(11)两侧。8.根据权利要求1所述的一种三维坐标采茶机器人,其特征在于:所述主平台(1)包括电源(14)以及控制器(15),所述电源(14)和所述控制器(15)设置在所述收集罐(5)相对侧。9.根据权利要求1所述的一种三维坐标采茶机器人,其特征在于:所述采摘吊架(6)包括基座(61),所述采摘机构(4)包括切割电机(41)、第一切割臂(42)、第二切割臂(43)、第一推杆(44)和第二推杆(45),所述切割电机(41)输出端设有推块(411)并驱动所述推块(411)相对所述第一推杆(44)和所述第二推杆(45)一侧移动,所述推块(411)上设有第一锥形面(4111),所述第一推杆(44)和所述第二推杆(45)上设有第二锥形面(441),所述推块(411)向下移动时所述第一锥形面(4111)与所述第二锥形面(441)接触并推动所述第一推杆(44)和所述第二推杆(45)相向运动,所述第一推杆(44)与所述第二推杆(45)和所述基座(61)之间设有弹簧(24),所述第一推杆(44)和所述第二推杆(45)分别与所述第一切割臂(42)和所述第二切割臂(43)连接并可带动所述第一切割臂(42)与所述第二切割臂(43)移动,所述第

一切割臂(42)与所述第二切割臂(43)之间设有容腔,所述容腔与所述收集罐(5)之间通过软管(46)连通。