欢迎来到知嘟嘟! 联系电话:13336804447 卖家免费入驻,海量在线求购! 卖家免费入驻,海量在线求购!
知嘟嘟
我要发布
联系电话:13336804447
知嘟嘟经纪人
收藏
专利号: 2020207788721
申请人: 陈莫秀
专利类型:实用新型
专利状态:已下证
专利领域: 救生;消防
更新日期:2023-11-27
缴费截止日期: 暂无
价格&联系人
年费信息
委托购买

摘要:

权利要求书:

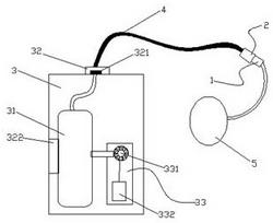
1.具有气压接头的正压式呼吸器,包括有接头(1)、接口(2)、呼吸器本体(3)、气瓶(31)与气管(4),其特征在于,所述的呼吸器本体(3)内的一侧设置有气瓶(31),所述的呼吸器本体(3)外的上方设置有出气口(32),所述的气瓶(31)上方通过管道连接出气口(32),所述的出气口(32)连接气管(4)一端,所述的气管(4)另一端连接接口(2),所述的接头(1)插接连接接口(2),所述的接头(1)外壁设置有卡槽(11),所述的接口(2)内壁一侧设置有定位销(21),所述的定位销(21)与卡槽(11)相对应匹配,所述的接口(2)外侧设置有按钮(22),所述的按钮(22)通过弹簧连接定位销(21),所述的接头(1)通过管道连接呼吸面罩(5),所述的呼吸器本体(3)内的另一侧设置有增压器(33),所述的增压器(33)连接气瓶(31),所述的接口(2)内壁另一侧设置有气压感应器(23),所述的气压感应器(23)连接按钮(22)。

2.根据权利要求1所述的具有气压接头的正压式呼吸器,其特征在于,所述的增压器(33)通过管道连接气瓶(31)的一侧。

3.根据权利要求1所述的具有气压接头的正压式呼吸器,其特征在于,所述的出气口(32)内设置有减压阀(321)。

4.根据权利要求1所述的具有气压接头的正压式呼吸器,其特征在于,所述的气瓶(31)的另一侧通过气瓶阀(322)连接呼吸器本体(3)。

5.根据权利要求1所述的具有气压接头的正压式呼吸器,其特征在于,所述的气管(4)另一端通过螺纹连接接口(2)。

6.根据权利要求1所述的具有气压接头的正压式呼吸器,其特征在于,所述的接口(2)与接头(1)均为中空结构,所述的接口(2)与接头(1)均为防锈材料。

7.根据权利要求1所述的具有气压接头的正压式呼吸器,其特征在于,所述的气压感应器(23)通过线管连接按钮(22)。

8.根据权利要求1所述的具有气压接头的正压式呼吸器,其特征在于,所述的增压器(33)内一侧设置有增压风机(331),所述的增压风机(331)通过管道与气瓶(31)连接,所述的增压器(33)内的另一侧设置有电瓶(332),所述的电瓶(332)通过线管连接增压风机(331)。