欢迎来到知嘟嘟! 联系电话:13336804447 卖家免费入驻,海量在线求购! 卖家免费入驻,海量在线求购!
知嘟嘟
我要发布
联系电话:13336804447
知嘟嘟经纪人
收藏
专利号: 2020207152538
申请人: 成都奕辰科技有限公司
专利类型:实用新型
专利状态:已下证
专利领域: 工程元件或部件;为产生和保持机器或设备的有效运行的一般措施;一般绝热
更新日期:2024-12-23
缴费截止日期: 暂无
价格&联系人
年费信息
委托购买

摘要:

权利要求书:

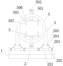
1.一种计算机数据收集装置用保护装置,包括底座(1)、防护组件(2)、支撑杆(3)、防护壳(4)和固定装置(5),其特征在于:所述底座(1)的顶部设置有防护组件(2),所述防护组件(2)的顶部设置有支撑杆(3),所述支撑杆(3)相对的一侧固定安装有防护壳(4),所述防护壳(4)的内部设置有固定装置(5);

所述防护组件(2)包括滑杆(201)、移动块(202)、弹簧(203)、活动杆(204)和活动连接件(205),所述底座(1)的顶部固定安装有滑杆(201),所述滑杆(201)的表面滑动连接有移动块(202),所述移动块(202)相背的一侧固定安装有弹簧(203),所述移动块(202)的顶部活动连接有活动杆(204),所述活动杆(204)的两端均设置有活动连接件(205);

所述固定装置(5)包括调节螺杆(501)、把手(502)、限位板(503)、调节杆(504)、调节块(505)、锁紧旋钮(506)和夹板(507),所述防护壳(4)的内部活动连接有调节螺杆(501),所述调节螺杆(501)相背的一端固定安装有把手(502),所述调节螺杆(501)相对的一端设置有限位板(503),所述限位板(503)的内部固定安装有调节杆(504),所述调节杆(504)的表面滑动连接有调节块(505),所述调节块(505)的内部活动连接有锁紧旋钮(506),所述调节块(505)的表面固定安装有夹板(507)。

2.根据权利要求1所述的一种计算机数据收集装置用保护装置,其特征在于:所述底座(1)的顶部固定安装有横板,且滑杆(201)固定安装在横板相对的一侧。

3.根据权利要求1所述的一种计算机数据收集装置用保护装置,其特征在于:所述滑杆(201)的两端固定安装有横板,且滑杆(201)的表面固定安装有挡板。

4.根据权利要求1所述的一种计算机数据收集装置用保护装置,其特征在于:所述移动块(202)的顶部与支撑杆(3)的表面均固定安装有活动连接件(205),且活动杆(204)通过活动连接件(205)与支撑杆(3)和移动块(202)活动连接。

5.根据权利要求1所述的一种计算机数据收集装置用保护装置,其特征在于:所述防护壳(4)的顶部与底部均开设有与调节螺杆(501)相适配的螺纹孔。

6.根据权利要求1所述的一种计算机数据收集装置用保护装置,其特征在于:所述限位板(503)的内部开设有矩形长条槽,且调节杆(504)固定安装在矩形长条槽的内部,夹板(507)通过调节块(505)和锁紧旋钮(506)固定安装在调节杆(504)的表面。