欢迎来到知嘟嘟! 联系电话:13336804447 卖家免费入驻,海量在线求购! 卖家免费入驻,海量在线求购!
知嘟嘟
我要发布
联系电话:13336804447
知嘟嘟经纪人
收藏
专利号: 2020207106900
申请人: 刘小燕
专利类型:实用新型
专利状态:已下证
专利领域: 木材或类似材料的加工或保存;一般钉钉机或钉U形钉机
更新日期:2024-02-23
缴费截止日期: 暂无
价格&联系人
年费信息
委托购买

摘要:

权利要求书:

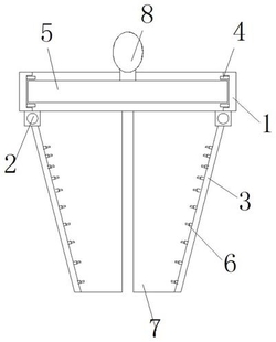
1.一种林木砍伐用修整装置,其特征在于,包括安装环(1)和夹紧环组件(3),安装环(1)的底部设置开合式的夹紧环组件(3),安装环(1)的内侧壁设置有环形的滑轨(4),滑轨(4)内滑动配合有环形的框架(5),框架(5)的中心设置有连接板(10),框架(5)与连接板(10)之间通过若干个安装支架(9)固定连接,安装支架(9)的底面设置有修整锯齿(11),修整锯齿(11)与锯面相触,所述夹紧环组件(3)呈锥状,夹紧环组件(3)的底部预留通孔(7),夹紧环组件(3)的内壁设置有均匀且周向排列的定位锥块(6)。

2.根据权利要求1所述的一种林木砍伐用修整装置,其特征在于,所述安装环(1)两侧对应位置处分别设置有连接座(2),连接座(2)上设置有转轴,夹紧环组件通过转轴转动安装在连接座(2)上。

3.根据权利要求1所述的一种林木砍伐用修整装置,其特征在于,所述连接板(10)的顶面设置有转柄(8),转柄(8)与框架(5)保持同轴心。

4.根据权利要求1所述的一种林木砍伐用修整装置,其特征在于,所述夹紧环组件(3)由两个结构相同的半环合围成型。

5.根据权利要求4所述的一种林木砍伐用修整装置,其特征在于,所述夹紧环组件(3)的上端口的内径大于夹紧环组件(3)的下端口的通孔(7)的内径。