欢迎来到知嘟嘟! 联系电话:13336804447 卖家免费入驻,海量在线求购! 卖家免费入驻,海量在线求购!
知嘟嘟
我要发布
联系电话:13336804447
知嘟嘟经纪人
收藏
专利号: 2020206641147
申请人: 江门夜光星空照明工程有限公司
专利类型:实用新型
专利状态:已下证
专利领域: 照明
更新日期:2024-02-23
缴费截止日期: 暂无
价格&联系人
年费信息
委托购买

摘要:

权利要求书:

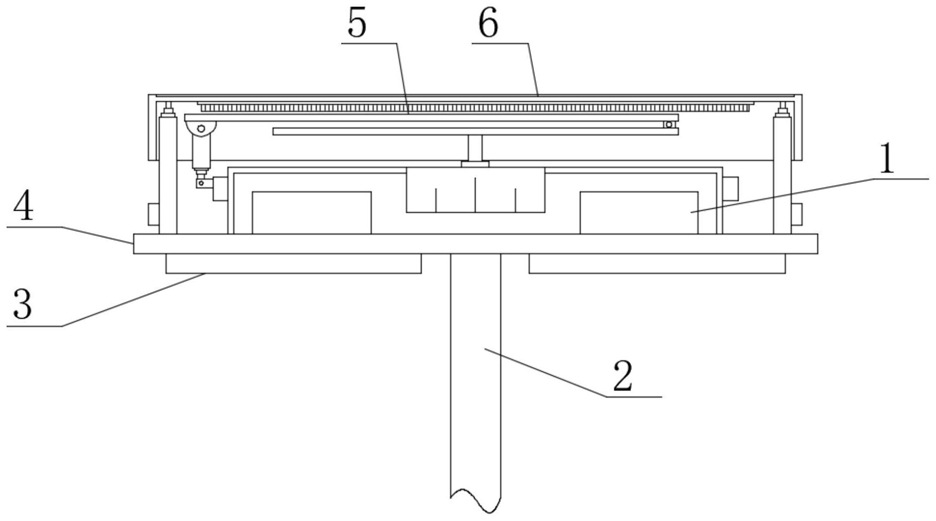
1.一种方便调节的太阳能路灯,包括支撑底板(4),支撑底板(4)的下表面中部设置有支撑杆(2),支撑底板(4)的下表面两端设置有照明灯(3),支撑底板(4)的上表面两端设置有蓄电池(1),其特征在于:所述蓄电池(1)的上方设置有调节机构(5),调节机构(5)包括支撑底座(57),支撑底座(57)的上表面中部设置有驱动电机(55),驱动电机(55)的输出端设置有传动板(54),传动板(54)的上方铰接有太阳能电板(58),太阳能电板(58)的下方设置有第一电动伸缩杆(52),太阳能电板(58)的下表面一端设置有与第一电动伸缩杆(52)相对应的第二限位底座(53),支撑底座(57)的顶端设置有限位轴承(56),限位轴承(56)的一端设置有与第一电动伸缩杆(52)相对应的第一限位底座(51),支撑底板(4)的上方还设置有防护机构(6)。

2.根据权利要求1所述的方便调节的太阳能路灯,其特征在于:所述第一电动伸缩杆(52)的顶端与第二限位底座(53)通过销钉活动连接,第一电动伸缩杆(52)的底端与第一限位底座(51)通过销钉活动连接。

3.根据权利要求2所述的方便调节的太阳能路灯,其特征在于:所述支撑底座(57)的材质为不锈钢,驱动电机(55)与支撑底座(57)通过焊接方式固定连接,支撑底座(57)的底端与支撑底板(4)通过螺栓固定连接。

4.根据权利要求1-3任一所述的方便调节的太阳能路灯,其特征在于:所述防护机构(6)包括防护罩(62),防护罩(62)的下表面两端设置有与支撑底板(4)相对应的第二电动伸缩杆(61),第二电动伸缩杆(61)的底端设置有光线传感器(65)。

5.根据权利要求4所述的方便调节的太阳能路灯,其特征在于:所述防护罩(62)的上表面设置有防护圆盘(63),防护圆盘(63)的材质为不锈钢,防护罩(62)的上表面开设有与防护圆盘(63)相对应的限位凹槽,防护圆盘(63)与防护罩(62)通过胶水粘合连接。

6.根据权利要求5所述的方便调节的太阳能路灯,其特征在于:所述防护罩(62)的下表面设置有清洁刷(64),清洁刷(64)的两端设置有螺丝钉,清洁刷(64)通过两端的螺丝钉固定在防护罩(62)上。