欢迎来到知嘟嘟! 联系电话:13336804447 卖家免费入驻,海量在线求购! 卖家免费入驻,海量在线求购!
知嘟嘟
我要发布
联系电话:13336804447
知嘟嘟经纪人
收藏
专利号: 2020206538818
申请人: 扬州宝鑫机械有限公司
专利类型:实用新型
专利状态:已下证
专利领域: 磨削;抛光
更新日期:2025-02-27
缴费截止日期: 暂无
价格&联系人
年费信息
委托购买

摘要:

权利要求书:

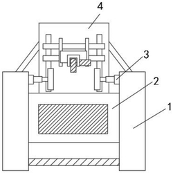
1.一种牵引中心销去毛边装置,包括支架(1),其特征在:所述支架(1)的内侧安装有操作台(2),且支架(1)的两侧内壁靠操作台(2)的上方均安装有夹持件(3),所述操作台(2)的顶部安装有固定板(4);

所述固定板(4)的前端开设有两组平行设置的升降槽(5),两组所述升降槽(5)的内侧之间安装有两组上下平行设置的横杆(6),两组所述横杆(6)的外侧均开设有横向滑槽(7),两组所述横向滑槽(7)的内侧之间安装有两根固定杆(8),两根所述固定杆(8)之间安装有连接板(9),且连接板(9)的底部内侧安装有打磨轮(10);

所述夹持件(3)包括轴承座(11),所述轴承座(11)的一端安装有伸缩杆(12),且伸缩杆(12)的一端远离轴承座(11)的一端安装有限位板(13),所述限位板(13)的侧壁安装有定位板(14)与卡板(15),所述定位板(14)与卡板(15)平行设置,贯穿所述卡板(15)的顶部设置有固定销(16)。

2.根据权利要求1所述的一种牵引中心销去毛边装置,其特征在于,所述支架(1)的内侧靠操作台(2)的下方设置有加固杆,加固杆呈水平横向设置。

3.根据权利要求1所述的一种牵引中心销去毛边装置,其特征在于,所述固定板(4)的两侧与支架(1)的顶部靠两端位置均设置有连杆,连杆呈倾斜状设置。

4.根据权利要求1所述的一种牵引中心销去毛边装置,其特征在于,两组所述夹持件(3)呈相对方向设置,且两组夹持件(3)均通过轴承座(11)与支架(1)固定。

5.根据权利要求1所述的一种牵引中心销去毛边装置,其特征在于,所述连接板(9)的外侧设置有电机,电机通过转轴与打磨轮(10)的一端活动连接。

6.根据权利要求1所述的一种牵引中心销去毛边装置,其特征在于,所述固定销(16)的底端设置有压板,压板的长度小于定位板(14)的长度。