欢迎来到知嘟嘟! 联系电话:13336804447 卖家免费入驻,海量在线求购! 卖家免费入驻,海量在线求购!
知嘟嘟
我要发布
联系电话:13336804447
知嘟嘟经纪人
收藏
专利号: 2020205938048
申请人: 泰兴星辰汽车附件有限公司
专利类型:实用新型
专利状态:已下证
专利领域: 一般的物理或化学的方法或装置
更新日期:2024-11-19
缴费截止日期: 暂无
价格&联系人
年费信息
委托购买

摘要:

权利要求书:

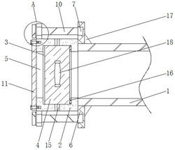
1.一种汽车进气道的过滤装置,包括进气管(1),其特征在于:所述进气管(1)的左侧设有两个固定块(2),两个所述固定块(2)相互靠近的一侧面均开设有凹槽(3),两个所述凹槽(3)的内部共同设有空气滤棉(4),每个所述凹槽(3)的内壁均与空气滤棉(4)的外表面相接触,两个所述固定块(2)相互远离的一侧面均开设有通孔(5),所述进气管(1)的外表面固定连接有相对称的固定板(6),每个所述固定板(6)的左侧面均开设有第一螺纹槽(7),所述固定块(2)的外表面固定连接有两个连接板(8),每个所述连接板(8)的右侧面均开设有第一螺纹孔(9),每个所述第一螺纹孔(9)的内壁均螺纹连接有固定螺栓(10),每个所述固定螺栓(10)的右端均延伸至每个第一螺纹槽(7)的内部并与每个第一螺纹槽(7)的内壁螺纹连接,所述固定块(2)的左侧设有滤网(11),所述滤网(11)的右侧面开设有两个第二螺纹孔(12),所述固定块(2)的左侧面开设有两个第二螺纹槽(13),每个所述第二螺纹孔(12)的内壁均螺纹连接有螺钉(14),每个所述螺钉(14)的右端均延伸至每个第二螺纹槽(13)的内部并与每个第二螺纹槽(13)的内壁螺纹连接。

2.根据权利要求1所述的一种汽车进气道的过滤装置,其特征在于:两个所述固定块(2)相互靠近的一侧面均固定连接有防护垫(15),且两个防护垫(15)相互靠近的一侧面相接触。

3.根据权利要求1所述的一种汽车进气道的过滤装置,其特征在于:所述进气管(1)的外表面固定连接有两个加固块(17),两个所述加固块(17)的左侧面均与每个固定板(6)的右侧面固定连接。

4.根据权利要求1所述的一种汽车进气道的过滤装置,其特征在于:每个所述固定螺栓(10)的外表面均套设有垫片(20),每个所述垫片(20)的右侧面均与每个连接板(8)的左侧面相接触。

5.根据权利要求1所述的一种汽车进气道的过滤装置,其特征在于:所述空气滤棉(4)的正面固定连接有标签(19),且标签(19)位于空气滤棉(4)正面的下部。

6.根据权利要求1所述的一种汽车进气道的过滤装置,其特征在于:所述空气滤棉(4)的右侧面固定连接有拉把(18),且拉把(18)的外表面开设有防滑纹。

7.根据权利要求1所述的一种汽车进气道的过滤装置,其特征在于:所述凹槽(3)的内壁固定连接有密封圈(16),所述密封圈(16)的左侧面与空气滤棉(4)的右侧面相接触。